Carrier WeatherMaker 50FC handleiding
Handleiding
Je bekijkt pagina 41 van 68

41
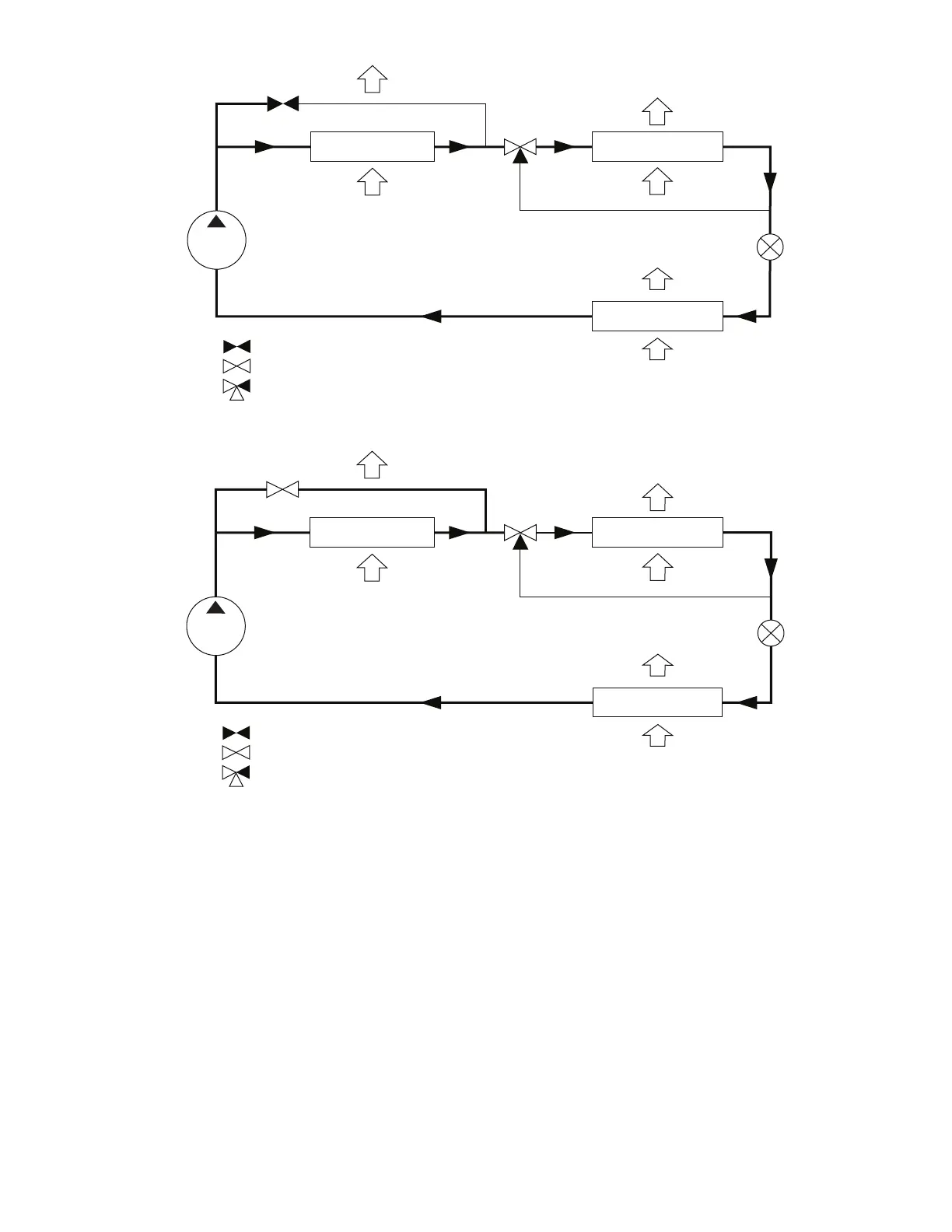
Fig. 63 — Subcooling Mode – Humidi-MiZer System for 50FC 20-30
Fig. 64 — Hot Gas Reheat Mode – Humidi-MiZer System for 50FC 20-30
Compressor
Outdoor Air
Indoor Supply
Air
Indoor Return Air
3-Way
Valve
RDV
Valve
Evaporator Coil
Condenser Coil
= Closed Valve
= Open Valve
= 3-Way Valve
Hot Gas Reheat Coil
Expansion
Valve
(TXV)
Hot Gas Reheat Coil
Compressor
Outdoor Air
Indoor Supply
Air
Indoor Return Air
3-Way
Valve
RDV
Valve
Condenser Coil
= Closed Valve
= Open Valve
= 3-Way Valve
Expansion
Valve
(TXV)
Evaporator Coil
Bekijk gratis de handleiding van Carrier WeatherMaker 50FC, stel vragen en lees de antwoorden op veelvoorkomende problemen, of gebruik onze assistent om sneller informatie in de handleiding te vinden of uitleg te krijgen over specifieke functies.
Productinformatie
Merk | Carrier |
Model | WeatherMaker 50FC |
Categorie | Niet gecategoriseerd |
Taal | Nederlands |
Grootte | 8511 MB |