Carrier Aquazone 50WD handleiding
Handleiding
Je bekijkt pagina 70 van 84

70
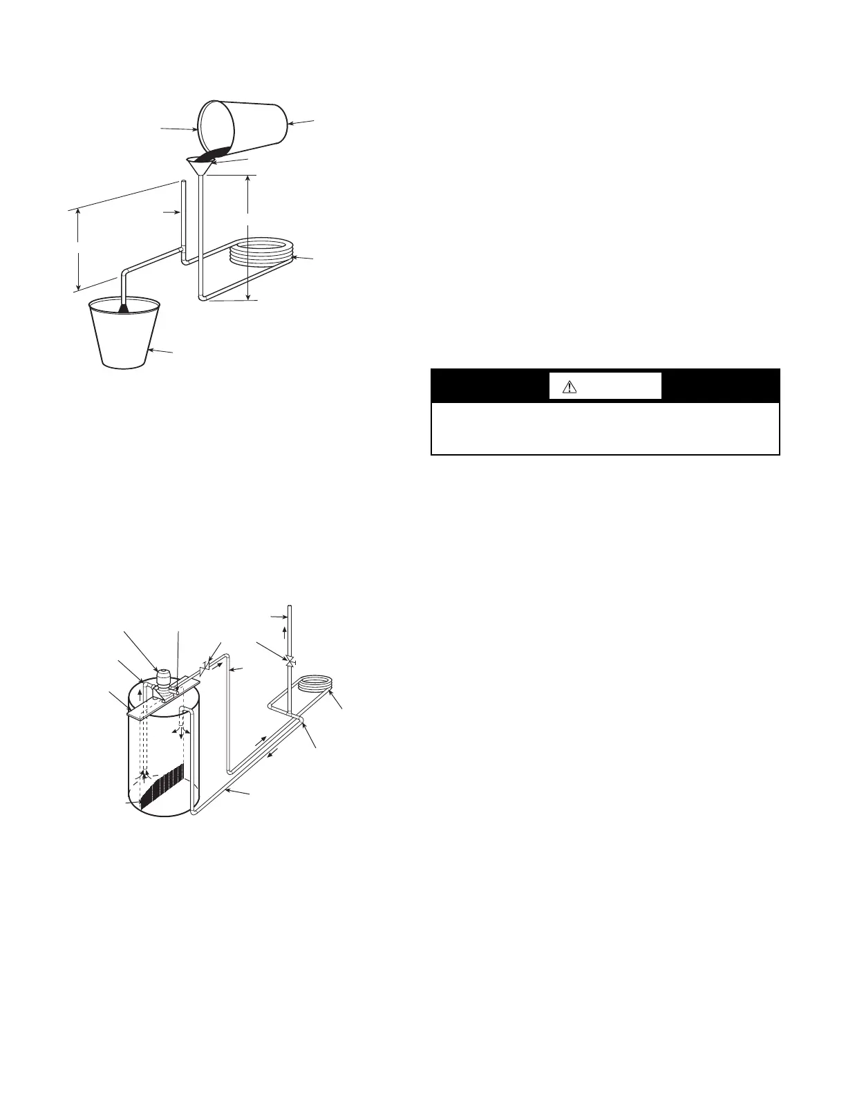
When condenser is full, allow solution to remain overnight, then
drain condenser and flush with clean water. Follow acid
manufacturer’s instructions (see Fig. 48).
Fig. 48 — Gravity Flow Method
FORCED CIRCULATION METHOD
Fully open vent pipe when filling condenser. The vent may be
closed when condenser is full and pump is operating. See Fig. 49.
Regulate flow to condenser with a supply line valve. If pump is a
non-overloading type, the valve may be fully closed while pump
is running.
For average scale deposit, allow solution to remain in condenser
overnight. For heavy scale deposit, allow 24 hours. Drain
condenser and flush with clean water. Follow acid
manufacturer’s instructions.
Fig. 49 — Forced Circulation Method
Removal and Evacuation
When breaking into the refrigerant circuit to make repairs, or for
any other purpose, conventional procedures shall be used. Howev-
er, for flammable refrigerants it is important that best practice be
followed, since flammability is a consideration. The following
procedure shall be adhered to:
• Safely remove refrigerant following local and national
regulations.
• Evacuate.
• Purge the circuit with inert gas (optional for A2L).
• Evacuate (optional for A2L).
• Continuously flush or purge with inert gas when using
flame to open circuit; and open the circuit.
The refrigerant charge shall be recovered into the correct recovery
cylinders if venting is not allowed by local and national codes. For
appliances containing flammable refrigerants, the system shall be
purged with oxygen-free nitrogen to render the appliance safe for
flammable refrigerants. This process might need to be repeated
several times. Compressed air or oxygen shall not be used for
purging refrigerant systems.
For appliances containing flammable refrigerants, refrigerant
purging shall be achieved by breaking the vacuum in the system
with oxygen-free nitrogen and continuing to fill until the working
pressure is achieved, then venting to atmosphere, and finally pull-
ing down to a vacuum (optional for A2L). This process shall be re-
peated until no refrigerant is within the system (optional for A2L).
When the final oxygen-free nitrogen charge is used, the system
shall be vented down to atmospheric pressure to enable work to
take place.
The outlet for the vacuum pump shall not be close to any potential
ignition sources, and ventilation shall be available.
Refrigerant Charging
NOTE: Do not vent or depressurize unit refrigerant to atmosphere.
Remove and recover refrigerant following accepted practices.
CHARGING PROCEDURES
In addition to conventional charging procedures, the following re-
quirements shall be followed.
• Ensure that contamination of different refrigerants does
not occur when using charging equipment. Hoses or lines
shall be as short as possible to minimize the amount of re-
frigerant contained in them.
• Cylinders shall be kept in an appropriate position accord-
ing to the instructions.
• Ensure that the refrigerating system is earthed prior to
charging the system with refrigerant.
• Label the system when charging is complete (if not al-
ready).
• Extreme care shall be taken not to overfill the refrigerating
system.
Prior to recharging the system, it shall be pressure-tested with the
appropriate purging gas. The system shall be leak-tested on com-
pletion of charging but prior to commissioning. A follow up leak
test shall be carried out prior to leaving the site.
RECOVERY
When removing refrigerant from a system, either for servicing or
decommissioning, it is recommended good practice that all refrig-
erants are removed safely.
When transferring refrigerant into cylinders, ensure that only ap-
propriate refrigerant recovery cylinders are employed. Ensure that
the correct number of cylinders for holding the total system charge
is available. All cylinders to be used are designated for the recov-
ered refrigerant and labeled for that refrigerant (i.e. special cylin-
ders for the recovery of refrigerant). Cylinders shall be complete
with pressure-relief valve and associated shut-off valves in good
working order. Empty recovery cylinders are evacuated and, if
possible, cooled before recovery occurs.
Pail
Funnel
Condenser
Pail
3' to 4'
Vent
Pipe
5'Approx
1"
Pipe
See Note
NOTE: Fill condenser with cleaning solution. Do not add
solution more rapidly than vent can exhaust gases
caused by chemical action.
Suction
Pump
Support
Tank
Fine Mesh
Screen
Return
Gas Vent
Pump
Priming
Conn.
Globe
Va lves
Supply
1" Pipe
Condenser
Remove Wa ter
Regulating Va lve
WARNING
To prevent personal injury, wear safety glasses and gloves
when handling refrigerant. Do not overcharge system — this
can cause compressor flooding.
Bekijk gratis de handleiding van Carrier Aquazone 50WD, stel vragen en lees de antwoorden op veelvoorkomende problemen, of gebruik onze assistent om sneller informatie in de handleiding te vinden of uitleg te krijgen over specifieke functies.
Productinformatie
| Merk | Carrier |
| Model | Aquazone 50WD |
| Categorie | Niet gecategoriseerd |
| Taal | Nederlands |
| Grootte | 15865 MB |







