Schneider ASISSLC2 handleiding
Handleiding
Je bekijkt pagina 3 van 4

ASISSLC1 / ASISSLC2
3/4
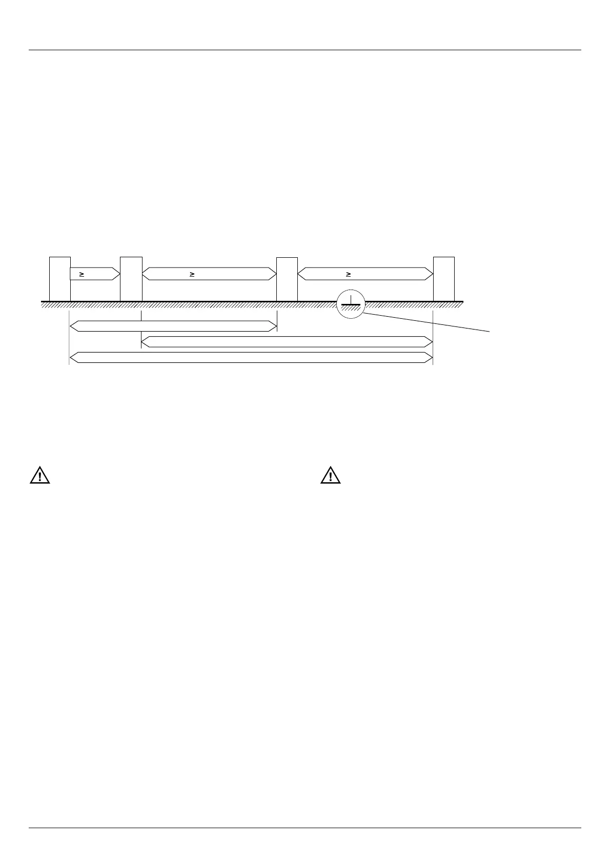
10-20 cm
> 50 cm
> 50 cm
> 1 m
5 cm 10-20 cm
Distance recommendée de séparation
Recommended distance of separation
Empfohlener Schutzabstand zwischen den Kabeln
Distanza raccomandata di separazione
Distância de separação recomendada
Distancia recomendada de separación
Remarque!
Plus le câble est long, plus grande doit être la
distance entre les câbles.
Pour l'installation du réseau AS-i et afin d'éviter les
influences CEM, suivez SVP les recommendations du
manuel CEM de Schneider.
Note !
The longer the cable run, the greater the clearance
required between cables.
For installation of the AS-i network and avoidance of
EMC influences, please follow the recommandations
of the Schneider EMC manual.
Hinweis!
Der Schutzabstand zwischen den Kabeln muß umso
größer gewählt werden, je länger die Kabelwege sind.
Damit EMV Störungen vermieden werden, muß das
AS-i Netzwerk gemäß den Installationsrichtlinien des
Schneider EMV Handbuches ausgeführt werden.
Plan de terre
Earth plane
Bezugsmasse
Piano terra
Plano da terra
Suelo
* Termes non standardisés utilisés dans ce document.
* Non-standardised term adopted for the purposes of this document.
* Nicht als normativer, sondern lediglich als beschreibender Begriff zu verstehen.
* Limite non standardizzato utilizzato in questo documento.
* Designação não normalizada, adoptada para este documento.
* Términos no estandarizados utilizados en este documento.
Nota !
Piu' il cavo è lungo, piu' grande deve essere la
distanza tra i cavi.
Per l'installazione di AS-i Network al fine di evitare le
influenze CEM, è indispensabile seguire le
raccomandazioni del manuale CEM di Schneider.
Nota !
Quanto maior o comprimento do cabo, maior a
distância requerida entre cabos.
Para instalação da rede AS-i e para evitar
perturbações electromagnéticas (CEM), por favor
cumpra as recomendações do manual de CEM.
Recuerde!
Cuanto más largo es el cable, mayor ha de ser la
distancia entre los cables.
Para la instalación de la red AS-i y con el fin de evitar
las influencias CEM, rogamos seguir las
recomendations del manual CEM de Schneider.
Ces valeurs sont seulement données à titre d'information et prennent en compte le fait que les câbles sont montés sur un plan de terre,
sont moins long que 30m et ne sont pas blindés.
These values are for information only and assume that cables are mounted on an earth plane, are less than 30m long and are un-shielded.
Bei den folgenden Abständen handelt es sich um Richtwerte. Zu beachten ist, daß die Kabel auf einer Masseebene befestigt und
nicht länger als 30m sind.
Questi valori sono dati a titolo d'informazione: prendono in considerazione che i cavi siano installati in piano, con una lunghezza inferiore
ai 30 mt.e non siano schermati.
Estes valores são apenas para informação e assumem que os cabos estão montados num plano, têm menos de 30m de comprimento
e não são blindados.
Estos valores se dan únicamente a título informativo y tienen en cuenta que los cables se montan sobre el suelo, son menores
a 30m y no están blindados.
Class 2*
Class 1*
Class 3*
Class 4*
Bekijk gratis de handleiding van Schneider ASISSLC2, stel vragen en lees de antwoorden op veelvoorkomende problemen, of gebruik onze assistent om sneller informatie in de handleiding te vinden of uitleg te krijgen over specifieke functies.
Productinformatie
| Merk | Schneider |
| Model | ASISSLC2 |
| Categorie | Niet gecategoriseerd |
| Taal | Nederlands |
| Grootte | 661 MB |







