Handleiding
Je bekijkt pagina 44 van 148

44
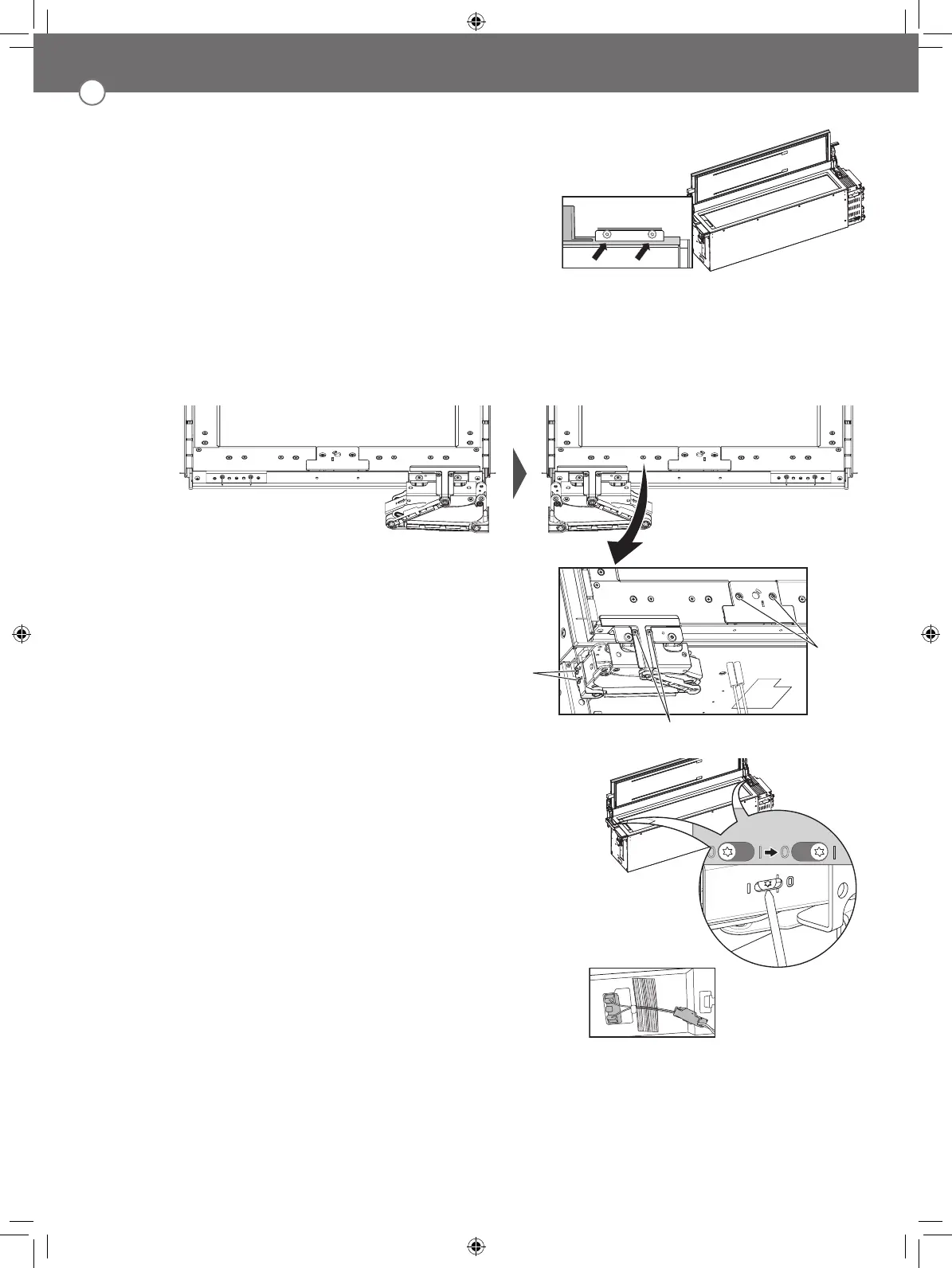
12. Insert 2 bolts at the top and bottom of the door
to reattach the door.
Note:
Do not exceed 97.36 inch-pounds (11Nm) of torque.
13. (For wine columns only)
Reattach the PCB cover (1) with 2 screws. Use
4 screws to install the link on the hinge (2) at the
opposite side from which it was removed. Reinstall the
vent cover assembly reassembled in step 7.
14. Reset the tension on the hinge spring by using the
T20 bit provided to turn the tension screw from O to |.
15. Stand the product upright. The power cord can be
connected, but wait 24 hours before turning on the
power.
16. Make sure that the door switch is positioned correctly
according to the guide structure(a), and the connector
housing is connected completely(b).
1
2
2
a
b
Bekijk gratis de handleiding van Signature SKSCW241RP, stel vragen en lees de antwoorden op veelvoorkomende problemen, of gebruik onze assistent om sneller informatie in de handleiding te vinden of uitleg te krijgen over specifieke functies.
Productinformatie
| Merk | Signature |
| Model | SKSCW241RP |
| Categorie | Koelkast |
| Taal | Nederlands |
| Grootte | 15733 MB |







