Schneider Rhodos Grande handleiding
Handleiding
Je bekijkt pagina 6 van 182

6
D
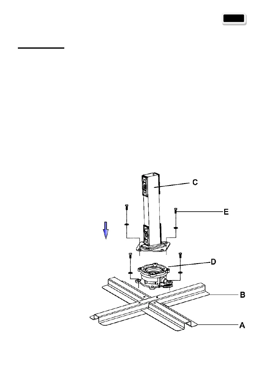
Montage
Beide Teile des Plattenständers (A + B) wie dargestellt aufeinander legen
und mit der Drehplatte (D) fest verschrauben.
Hierzu verwenden Sie die Schrauben M8x20 (F) sowie jeweils eine
Unterlegscheibe (G).
Anschließend das Standrohr (C) mit der Drehplatte (D) verschrauben.
Hiezu verwenden Sie die Schrauben M8x14 (E) sowie jeweils einer
Unterlegscheibe (G).
HINWEIS:
Das Standrohr ist um 3° rückwärts
geneigt.
Das ist korrekt, und stellt keinen
Reklamationsgrund dar.
Hiermit wird verhindert, dass bei
geöffnetem Schirm der Mast nach
vorne hängt, und verleiht dem Schirm
eine harmonische Erscheinung.
Bekijk gratis de handleiding van Schneider Rhodos Grande, stel vragen en lees de antwoorden op veelvoorkomende problemen, of gebruik onze assistent om sneller informatie in de handleiding te vinden of uitleg te krijgen over specifieke functies.
Productinformatie
| Merk | Schneider |
| Model | Rhodos Grande |
| Categorie | Niet gecategoriseerd |
| Taal | Nederlands |
| Grootte | 19194 MB |







