Master-Bilt QS2 handleiding
Handleiding
Je bekijkt pagina 19 van 104

19
8/22 Rev. R 132617 ©2022 Refrigerated Solutions Group. All rights reserved.
2” MINIMUM
WALK-IN INSTALLATION
Fig
ure 2
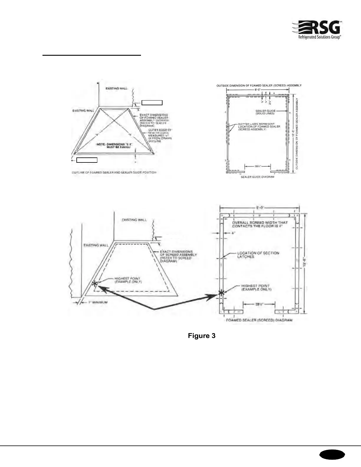
One of the most important procedures that will be encountered in the base preparation is LEVELING THE SEALER
(SCREED). It must be PERFECTLY LEVEL! If it is not, the wall panels will follow the irregularities of the building
floor which will directly affect subsequent procedures such as panel latching, panel gasket seal, ceiling panel
assembly and other.
After the outline of the sealer (screed) and the sealer guide is completed, as shown in Figure 2, locate the highest
point within the outline on the floor where the screed (sealer) will be installed. (Sealer sections are 4” wide). A
transit or surveyor’s level is an ideal instrument for this purpose. Mark the highest point on the floor as illustrated
on Figure 3.
2” MINIMUM
2” MINIMUM
Bekijk gratis de handleiding van Master-Bilt QS2, stel vragen en lees de antwoorden op veelvoorkomende problemen, of gebruik onze assistent om sneller informatie in de handleiding te vinden of uitleg te krijgen over specifieke functies.
Productinformatie
| Merk | Master-Bilt |
| Model | QS2 |
| Categorie | Koelkast |
| Taal | Nederlands |
| Grootte | 40845 MB |