Juki MF-3580 handleiding
Handleiding
Je bekijkt pagina 160 van 440

− 26 −
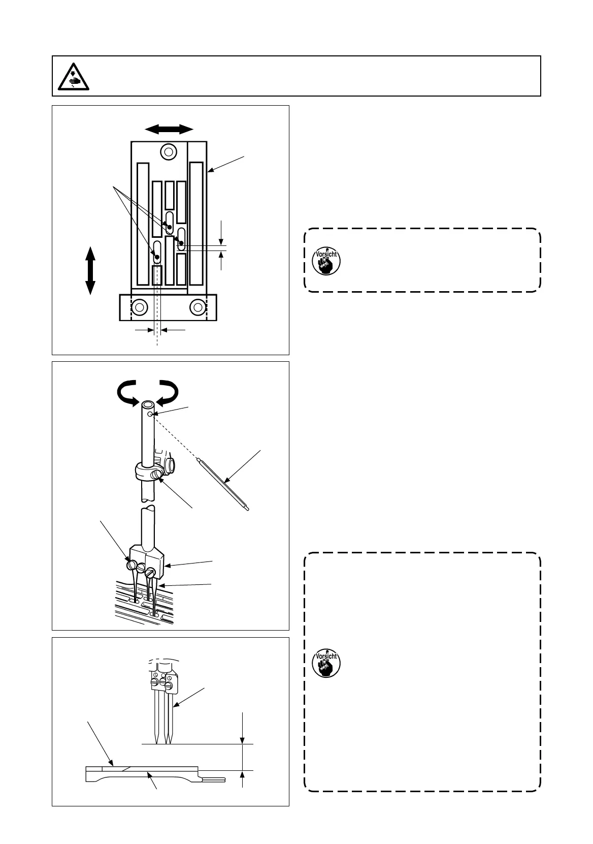
Vorübergehende Nadelstangenhöhe
12,5mm
2
3
Oberseite der Stichplatte
3.
Einstellung der Nadeleinstichpositionen in Rechts-Links- und Vor-Zurück-Richtung
(1) Nadeleinstich
1) Nadeleinstichposition in Rechts-Links-Richtung
Die 3 Nadeln
2
an der Nadelklemme
1
anbringen.
Die Standard-Nadeleinstichposition "A" in Rechts-
Links-Richtung ist die Mitte des Stichlochs der Stich-
platte
3
.
2) Nadeleinstichposition in Vor-Zurück-Richtung
Die Standard-Nadeleinstichposition in Vor-Zurück-
Richtung hängt von der Bedingung ab, dass der Ab-
stand "B" zwischen der Nadel
2
und dem Stichloch
der Stichplatte
3
für alle 3 Positionen gleich ist.
Stellen Sie die Nadeleinstichposition
entsprechend der vorübergehenden Höhe
der Nadelstange
4
von 12,5 mm ein.
Siehe "
$
-5. Einstellung der
Nadelstangenhöhe".
(2) Prüfverfahren des Nadeleinstichs
1) Die 3 Nadeln
1
an der Nadelklemme
2
anbringen,
und die Befestigungsschraube
5
anziehen.
2) Die Nadelstangen-Halteschraube
6
lösen, die vor-
übergehende Höhe der Nadelstange
4
(12,5 mm)
einstellen, und die Nadelstangen-Halteschraube
6
provisorisch anziehen (ungefähr Nadelstab,
4
, die er
sich dreht).
3) Den Drehstab
7
in die Bohrung am oberen Ende der
Nadelstange
4
einführen, und die Nadelstange
4
in
Rechts-Links-Richtung drehen, um die Nadeleinstich-
position in Vor-Zurück- und Rechts-Links-Richtung
einzustellen.
1. Eine falsche Einstellung der
Nadeleinstichposition kann
Stichauslassen, Nadelbruch oder
Fadenbruch verursachen.
2. Die Nadeleinsticheinstellung erfolgt
gemäß der vorubergehenden
Nadelstangenhöhe.
Wenn sich die Nadelstange am oberen
Totpunkt befi ndet, beträgt der voru
bergehende Abstand zwischen der
Oberseite der Stichplatte
3
und den
Spitzen der Nadeln
2
12,5 mm.
3. Die Nadelstangenhöhe wird voru
bergehend fur die Nadeleinstichposition
eingestellt. Wenn kein Problem mit
der Nadelstangenhöhe vorliegt, eru
brigt sich eine Neueinstellung der
Nadelstangenhöhe.
Zum nächsten Schritt weitergehen.
Rechts-Links-Richtung
Vor-Zurück-
Richtung
2
Gleich für 3
Nadeln
2
A
Mitte
B
Bohrung im
oberen Ende der
Nadelstange
4
Drehung im/entgegen dem
Uhrzeigersinn
Drehmoment
1,6 bis 1,8 N•m
Drehmoment
2,1 bis 2,4 N•m
2
1
7
5
6
3
WARNUNG :
Schalten Sie vor Beginn der Arbeit die Stromversorgung aus, um durch plötzliches Anlaufen der
Nähmaschine verursachte Unfälle zu verhüten.
Bekijk gratis de handleiding van Juki MF-3580, stel vragen en lees de antwoorden op veelvoorkomende problemen, of gebruik onze assistent om sneller informatie in de handleiding te vinden of uitleg te krijgen over specifieke functies.
Productinformatie
| Merk | Juki |
| Model | MF-3580 |
| Categorie | Naaimachine |
| Taal | Nederlands |
| Grootte | 79694 MB |







