Carrier NSA-DIFFER-LO handleiding
Handleiding
Je bekijkt pagina 4 van 9

Differential Low Pressure
Installation and Operation
#NSA-HH/DLP-001-W-U-D-A-3-C, NSA-HH/DLP-001-W-U-N-A-0-C, NSA-HH/DLP-010-W-U-D-A-3-C
NSA-HH/DLP-010-W-U-N-A-0-C, NSA-HH/DLP-040-W-U-D-A-3-C, NSA-HH/DLP-040-W-U-N-A-0-C – 11/14/2019
Specifications subject to change without notice.
Catalog No. 11-808-753-01 Page 4 of 9
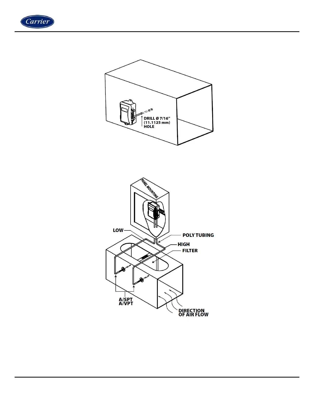
Duct Static Installation
Figure 4
Measuring Differential Pressure Across Filter
Figure 5
Bekijk gratis de handleiding van Carrier NSA-DIFFER-LO, stel vragen en lees de antwoorden op veelvoorkomende problemen, of gebruik onze assistent om sneller informatie in de handleiding te vinden of uitleg te krijgen over specifieke functies.
Productinformatie
| Merk | Carrier |
| Model | NSA-DIFFER-LO |
| Categorie | Niet gecategoriseerd |
| Taal | Nederlands |
| Grootte | 1501 MB |







