Wiesenfield WIE-PC-100 handleiding

297 pagina's
PDF beschikbaar

Handleiding

Je bekijkt pagina 20 van 297
EN
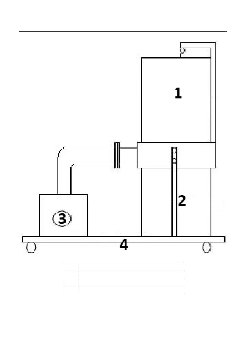
Sample Drawing of Bag Dust filter.
1
Dust Filtering Bag
2
Dust Collecting Bag
3
Fan
4
Steel Bracket

Bekijk gratis de handleiding van Wiesenfield WIE-PC-100, stel vragen en lees de antwoorden op veelvoorkomende problemen, of gebruik onze assistent om sneller informatie in de handleiding te vinden of uitleg te krijgen over specifieke functies.

Productinformatie

MerkWiesenfield
ModelWIE-PC-100
CategorieNiet gecategoriseerd
TaalNederlands
Grootte46740 MB