Vestil ALLW-2020-FW handleiding
Handleiding
Je bekijkt pagina 6 van 21

Table of Contents Rev. 10/2/2020 LLW MANUAL
Table of Contents Copyright 2020 Vestil Manufacturing Co. Page 6 of 21
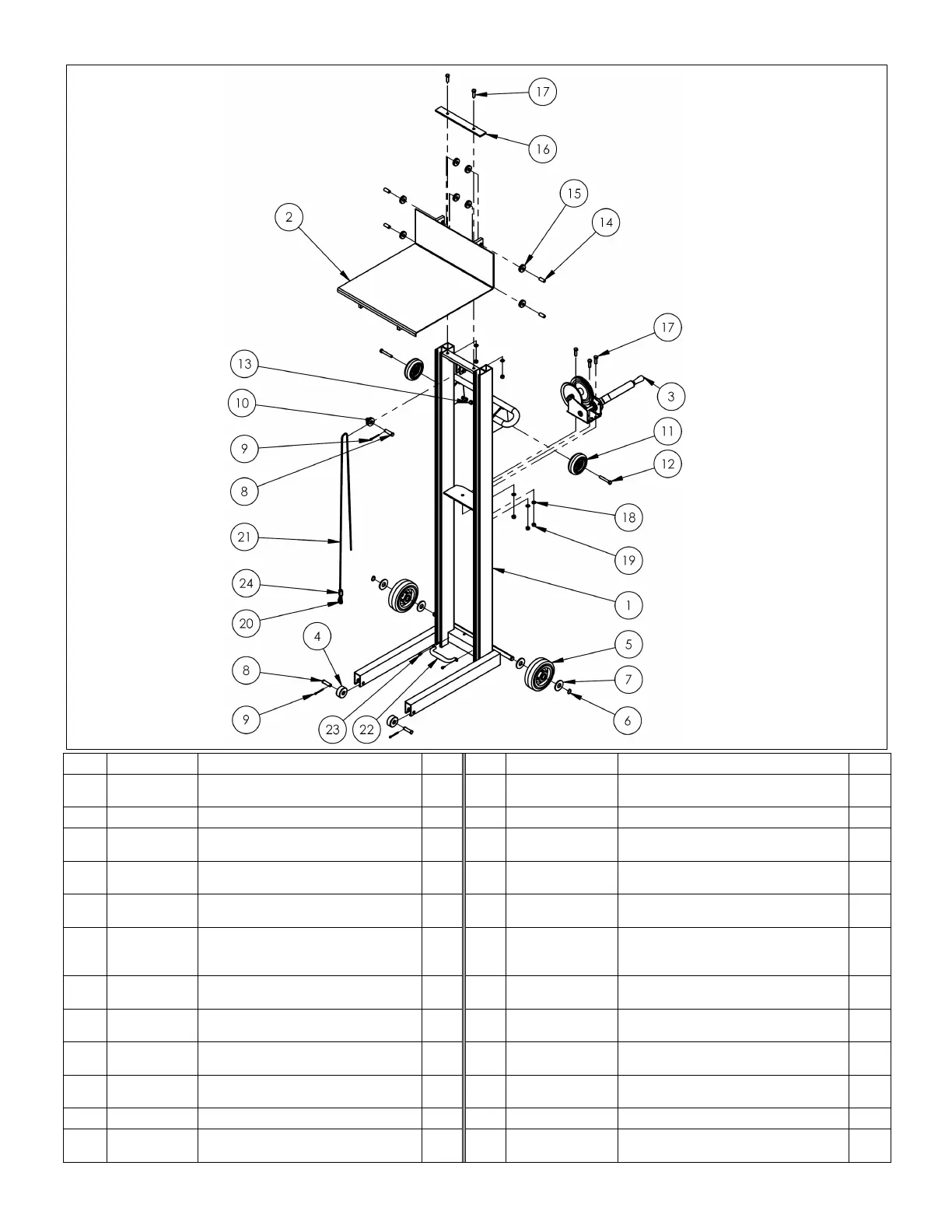
Item
Part no.
Description
Qty.
Item
Part no.
Description
Qty.
1
42-514-008 WELDMENT, FRAME 1
13
37024
NYLON INSERT LOCK NUT,
GRADE 2, ZINC FINISH, 3/8"-16
2
2
42-513-006
WELDMENT, DECK
1
14
21-112-002
PIN. ROLLER
4
3
21-042-
002-001
HAND WINCH, ONE PIECE
STRAIGHT HANDLE GRIP
1
15
42-027-005 ROLLER, GUIDE ROLLER 8
4
21-527-002
SUB-ASSEMBLY, ROLLER W/
BUSHING
2
16
21-017-087 STIFFENER, BAR 1
5
16-132-058 WHEEL, POLY ON POLY 2
17
11107
HEX BOLT, GRADE A, ZINC
FINISH, 3/8"-16 x 1-1/4"
5
6
68015
EXTERNAL RETAINING
RING,PHOSPHATE, 3/4"
2
18
33622
SPLIT LOCK WASHER, CARBON
STEEL, MEDIUM ZINC FINISH,
3/8"
5
7
33018
USS FLAT WASHER, Z
PLATED, Ø 3/4"
4
19
36106
HEX NUT, GRADE A, ZINC
PLATED, 3/8-16
5
8
21-112-003
PIN, Ø1/2 X 1-15/16 LG
RETAINING CLEVIS
3
20
21-145-013
SPECIALTY HARDWARE,
THIMBLE
1
9
65107
COTTER PIN, ZINC FINISH,
Ø5/32" X 2"
3
21
21-145-014
SPECIALTY HARDWARE, Ø3/16"
AIR CRAFT CABLE
1
10
21-527-001
SUB-ASSEMBLY, PULLEY
W/BUSHING
1
22
13-025-004-002 HANDLE, WITH HOLES 1
11
16-132-009
PP-4/1.25-W
2
23
31802
SCREW, SELF-TAPPING SCREW
2
12
11113
HEX BOLT, GRADE A, PLAIN
FINISH, 3/8"-16 X 2-1/2"
2
24
99-145-067
COMPRESSION SLEEVE Ø3/16" X
1" LG
1
Exploded View & Bill of Materials
A
LLW-2020-FW
42-006-004
Bekijk gratis de handleiding van Vestil ALLW-2020-FW, stel vragen en lees de antwoorden op veelvoorkomende problemen, of gebruik onze assistent om sneller informatie in de handleiding te vinden of uitleg te krijgen over specifieke functies.
Productinformatie
Merk | Vestil |
Model | ALLW-2020-FW |
Categorie | Niet gecategoriseerd |
Taal | Nederlands |
Grootte | 5695 MB |