Steinberg SBS-RT-3000N handleiding
Handleiding
Je bekijkt pagina 66 van 76

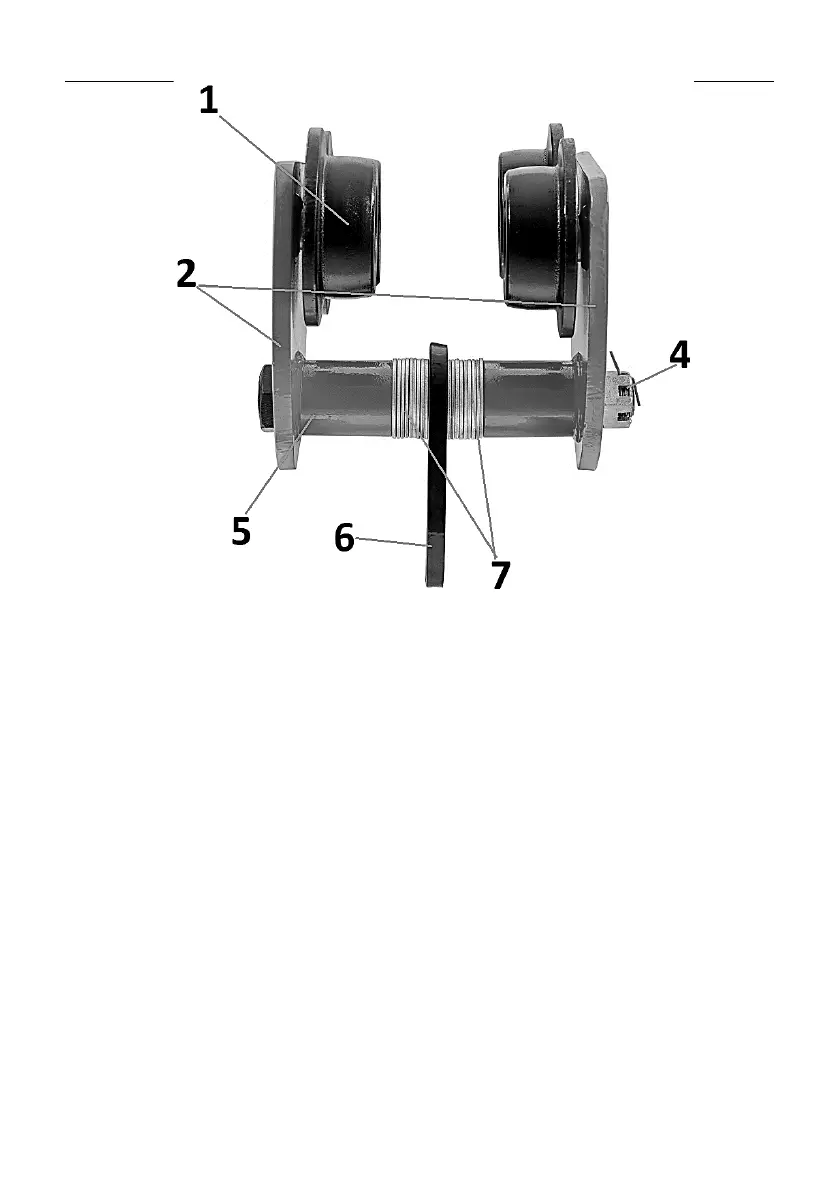
1. Adagoló kerék
2. Oldalfalak
3. Lánc orsó
4. Csipkeanyát biztonsági klippel
5. Tengely
6. Hevederek
7. Távtartó alátét
8. Meghajtólánc
3.2. Felkészülés a munkára/Munka a készülékkel
BERENDEZÉS ELHELYEZÉSE:
VIGYÁZAT! Győződjön meg arról, hogy a szerkezet, amelyen a berendezés mozogni
fog, elég erős ahhoz, hogy kibírja a terhelést
valamint a berendezés. Tilos a készüléket olyan konstrukcióra felszerelni, amely
teherbírás és szilárdság szempontjából nem ellenőrizhető. Felelősség
a készülék tartószerkezetre történő felszerelésének és magának a tartószerkezetnek
a felelőssége a felhasználóra hárul. A készülék tartószerkezetre történő
felfüggesztésekor a következőkre van szükség
fokozott óvatossággal járjon el, és győződjön meg arról, hogy minden körülmény
alkalmas a biztonságos munkavégzésre - ez lehetővé teszi, hogy elkerülje a
lehetséges kockázatokkal kapcsolatos kockázatokat.
Bekijk gratis de handleiding van Steinberg SBS-RT-3000N, stel vragen en lees de antwoorden op veelvoorkomende problemen, of gebruik onze assistent om sneller informatie in de handleiding te vinden of uitleg te krijgen over specifieke functies.
Productinformatie
| Merk | Steinberg |
| Model | SBS-RT-3000N |
| Categorie | Niet gecategoriseerd |
| Taal | Nederlands |
| Grootte | 11295 MB |







