Steinberg SBS-RT-3000N handleiding

76 pagina's
PDF beschikbaar

Handleiding

Je bekijkt pagina 65 van 76
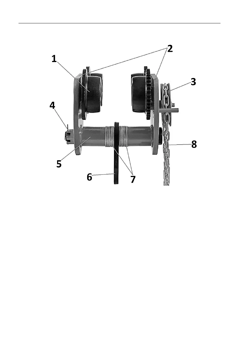
3.1. Termék áttekintés
SBS-RT-5000C / SBS-RT-3000C / SBS-RT-2000C / SBS-RT-1000C
SBS-RT-5000N / SBS-RT-3000N / SBS-RT-2000N / SBS-RT-1000N

Bekijk gratis de handleiding van Steinberg SBS-RT-3000N, stel vragen en lees de antwoorden op veelvoorkomende problemen, of gebruik onze assistent om sneller informatie in de handleiding te vinden of uitleg te krijgen over specifieke functies.

Productinformatie

MerkSteinberg
ModelSBS-RT-3000N
CategorieNiet gecategoriseerd
TaalNederlands
Grootte11295 MB