Standard Horizon HX320 handleiding
Handleiding
Je bekijkt pagina 24 van 60

Page 22
8.9 SCANNING
The HX320 provides two types of scanning, “Memory Scan” or “Priority Scan”.
“Memory Scan” scans the channels that were programmed into Scan Memory
and also channels stored in the Preset Channel memory. “Priority Scan” is simi-
lar to the “Memory Scan” scan, however it scans the priority channel (channel
16) and dual watches to channels programmed in memory scan and preset
channel memory. When an incoming signal is detected on one of the channels
during scan, the radio will pause on that channel, allowing you to listen to the
incoming transmission.
8.9.1 PROGRAMMING SCAN MEMORY
1. Press and hold the [MENU/SET] key.
2. Press the [▲] or [▼] key to select “CHANNEL SETUP”.
3. Press the [SELECT] soft key, then press the [▲] or [▼] key to select “SCAN
MEMORY”.
4. Press the [SELECT] soft key.
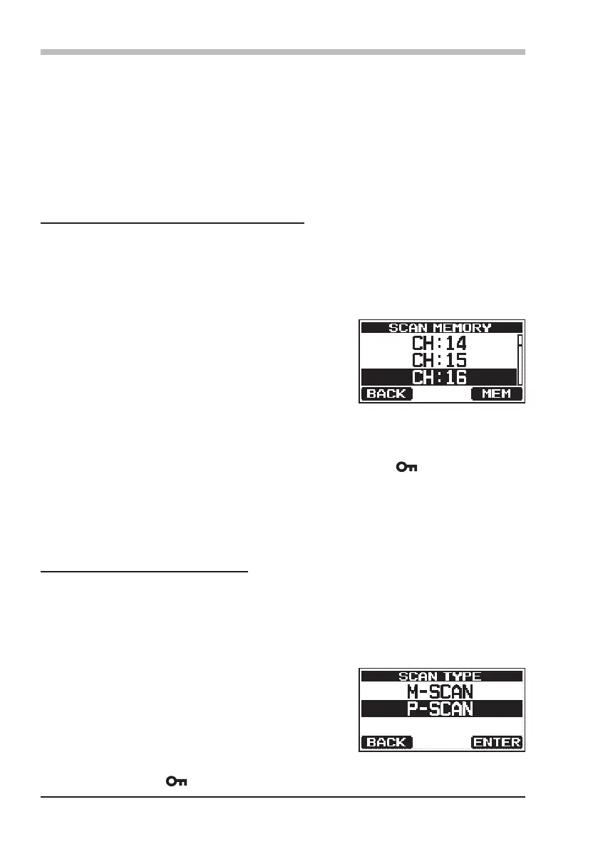
5. Press the [▲] or [▼] key to select a desired
channel to be scanned, then press the [MEM]
soft key. The “ON” icon will appear at the right
side of the selected channel.
6. Repeat step 5 for all the desired channels to be scanned.
7. To REMOVE a channel from the list, select the channel then press the
[MEM] soft key. The “ON” icon of the selected channel will disappear.
8. When the selections are complete, press the [CLR/ ] key to return to
radio operation.
To check channels to be scanned, press the [▲] or [▼] key repeatedly, to
display each channel. The “MEM” icon will appear when a designated memory
channel is displayed.
8.9.2 SELECTING SCAN TYPE
1. Press and hold the [MENU/SET] key.
2. Press the [▲] or [▼] key to select “CHANNEL SETUP”.
3. Press the [SELECT] soft key, then select “SCAN TYPE” with the [▲] or [▼]
key.
4. Press the [SELECT] soft key.
5. Press the [▲] or [▼] key to select “M-SCAN”
(Memory Scan) or “P-SCAN” (Priority Scan).
The default setting is “M-SCAN”.
6. Press the [ENTER] soft key to store the selected setting.
7. Press the [CLR/ ] key to return to radio operation.
Bekijk gratis de handleiding van Standard Horizon HX320, stel vragen en lees de antwoorden op veelvoorkomende problemen, of gebruik onze assistent om sneller informatie in de handleiding te vinden of uitleg te krijgen over specifieke functies.
Productinformatie
Merk | Standard Horizon |
Model | HX320 |
Categorie | Niet gecategoriseerd |
Taal | Nederlands |
Grootte | 5720 MB |