Handleiding
Je bekijkt pagina 6 van 66

6
Preparation for outdoor unit installation
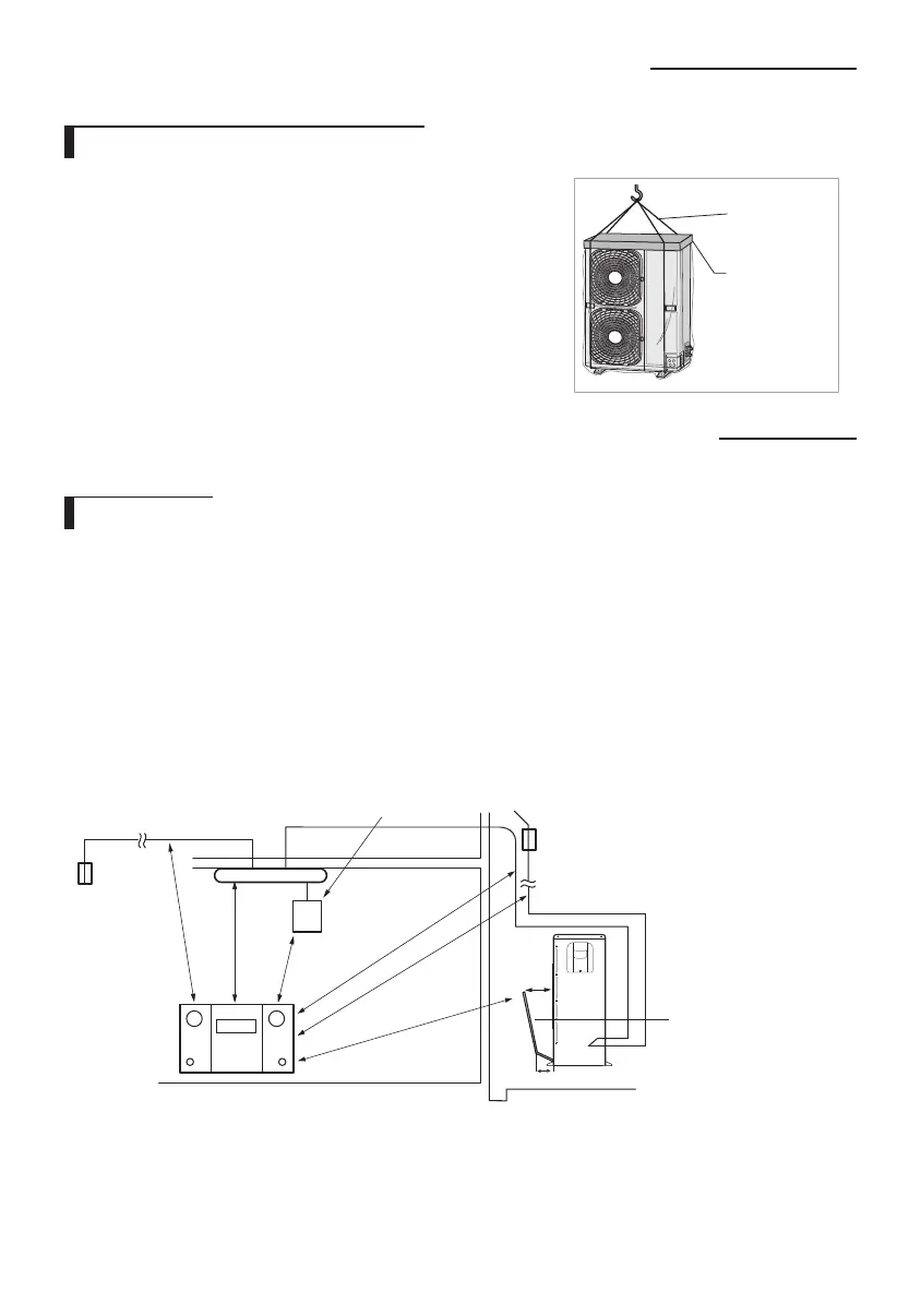
Moving the Outdoor Unit by Wire Rope
Fasten the outdoor unit by two 8m or longer wire ropes as shown at the
gure. To prevent from damage or scratches, insert a piece of cloth between
the outdoor unit and rope, then move the unit.
The appearance of the unit may be dierent from the picture depending
on the model.
Plate protection
cloth
Wire rope
Deciding on where to install the outdoor unit
Outdoor Unit
The outdoor unit must not be placed on its side or upside down, as the compressor lubrication oil will run into the cooling
circuit and seriously damage the unit.
Choose a location that is dry and sunny, but not exposed to direct sunlight or strong winds.
Do not block any passageways or thoroughfares.
Choose a location where the noise of the air conditioner when running and the discharged air do not disturb any
neighbours.
Choose a position that enables the pipes and cables to be easily connected to the indoor unit.
Install the outdoor unit on a at, stable surface that can support its weight and does not generate any unnecessary noise
and vibration.
Position the outdoor unit so that the air ow is directed towards the open area.
Maintain sucient clearance around the outdoor unit, especially from a radio, computer, stereo system, etc.
Fuse
Outdoor Unit
Stereo
1.5m or more
Indoor Unit
Control
Air Guide Duct
(This product is not
provided by Samsung)
1m or more
1m or more
1.5m or more
1.5m or more
1.5m or more
Fuse
200mm
300mm
If the outdoor unit is installed at a height, ensure that its base is rmly xed in position.
Make sure that the water dripping from the drain hose runs away correctly and safely.
CAC GD-EU_IM_32793A-23_EN.indd 6 2016-05-25 오후 7:08:24
Bekijk gratis de handleiding van Samsung RC140PHXEA, stel vragen en lees de antwoorden op veelvoorkomende problemen, of gebruik onze assistent om sneller informatie in de handleiding te vinden of uitleg te krijgen over specifieke functies.
Productinformatie
Merk | Samsung |
Model | RC140PHXEA |
Categorie | Airco |
Taal | Nederlands |
Grootte | 7101 MB |