Peerless-AV Neptune Full Sun ODTV5504 handleiding

84 pagina's
PDF beschikbaar

Handleiding

Je bekijkt pagina 11 van 84
11
2023-09-19 #:180-9178-1
C (3)
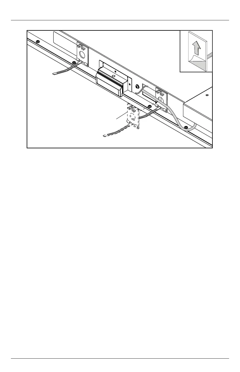
Cable Management
Secure cables to display with adhesive cable holders.
C

Bekijk gratis de handleiding van Peerless-AV Neptune Full Sun ODTV5504, stel vragen en lees de antwoorden op veelvoorkomende problemen, of gebruik onze assistent om sneller informatie in de handleiding te vinden of uitleg te krijgen over specifieke functies.

Productinformatie

MerkPeerless-AV
ModelNeptune Full Sun ODTV5504
CategorieTelevisie
TaalNederlands
Grootte11438 MB