Handleiding
Je bekijkt pagina 35 van 56

35
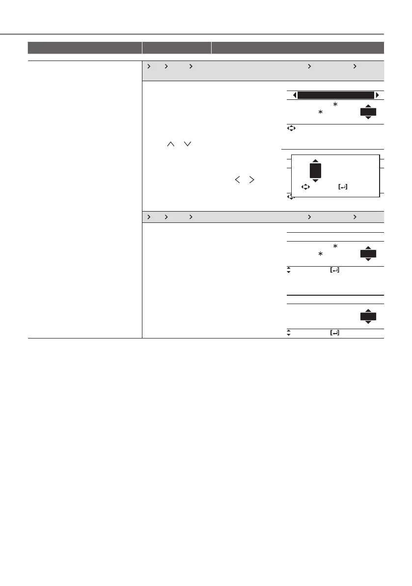
Menu Default Setting Setting Options / Display
Yes Smart After selecting for the external pump Energy price
Electricity
0.0 * / kWh
- There are total 10 different prices can be set
for Electricity:
Electricity price 1 ~ Electricity price 10
- Range is 0 ~ 999.9 * / kWh
Bivalent connection
10:34am,Mon
0.0
Range: (0~999.9 /kWh)
Steps: ±0.1 /kWh
Electricity price 1
Select
- Press or to enter a setting screen as
shown in Figure 1. Then start setting the
value of electricity price.
- After fi nish setting a particular electricity price
(eg. Electricity price 1), press or to go
and set for other electricity price.
* Set the price according to value provided by
electrical supply company.
Figure 1
Bivalent connection
10:34am,Mon
Select
0.0
Range: (0~999.9 /kWh)
Steps: ±0.1 /kWh
Electricity price 1
0 00.0
ConfirmSelect
Yes Smart After selecting for the external pump Energy price Boiler
0.0 * / kWh
- Refer to method of Electricity price setting
above for setting of boiler price.
- After fi nish setting of boiler price, set the
boiler effi ciency (Range : 0 ~ 99%).
Bivalent connection
Boiler price
Select Confirm
10:34am,Mon
0.0
Range: (0~999.9 /kWh)
Steps: ±0.1 /kWh
0%
* Set the price according to value provided by
boiler or gas supply company.
Bivalent connection
Boiler efficiency
Range: (0~99%)
Steps: ±1%
Select Confirm
10:34am,Mon
0
Remark : * implies cents in most currency except Czech crown.
Bekijk gratis de handleiding van Panasonic WH-UDZ09KE5, stel vragen en lees de antwoorden op veelvoorkomende problemen, of gebruik onze assistent om sneller informatie in de handleiding te vinden of uitleg te krijgen over specifieke functies.
Productinformatie
Merk | Panasonic |
Model | WH-UDZ09KE5 |
Categorie | Airco |
Taal | Nederlands |
Grootte | 5111 MB |