Handleiding
Je bekijkt pagina 33 van 44

10
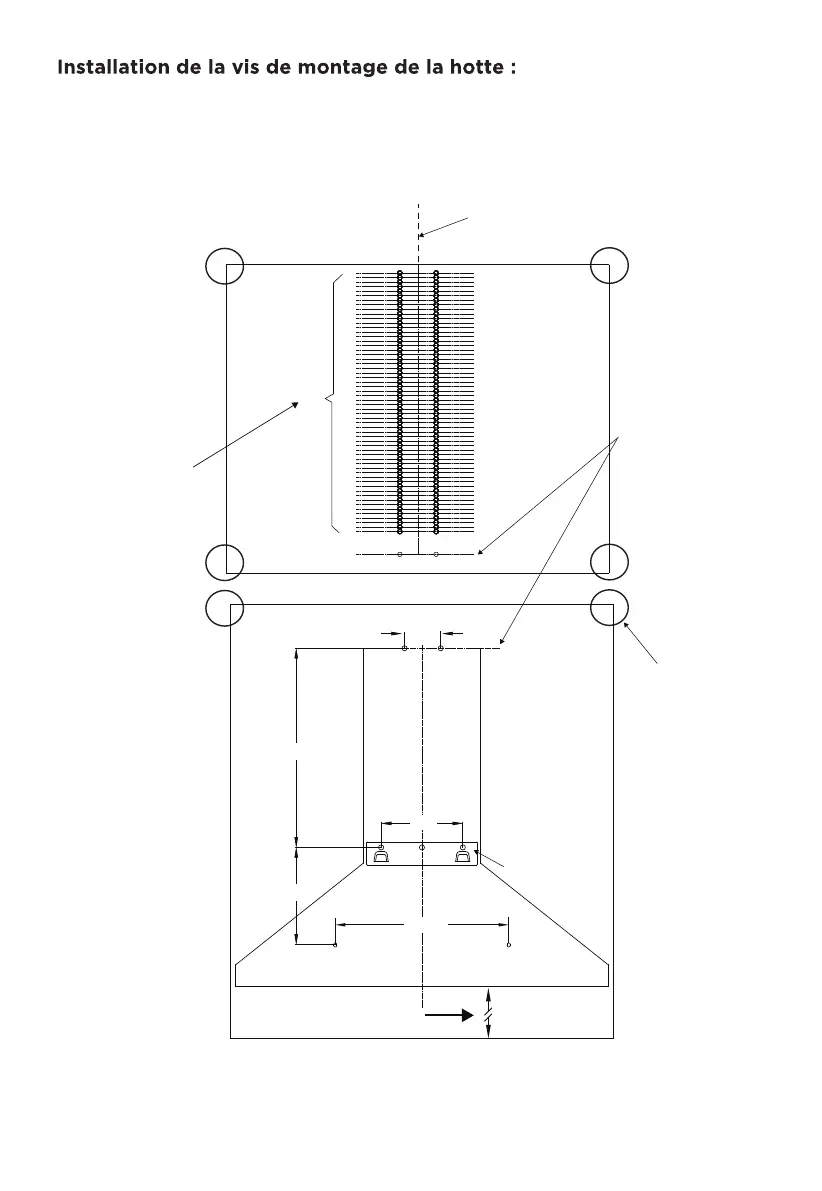
1 Déterminez et marquez l’axe central du mur où la hotte sera installée.
2 Choisissez une hauteur de montage comprise entre un minimum de 25,6'’ (65 cm) et
un maximum suggéré de 29,53'’ (75 cm) au-dessus de la cuisinière jusqu’au bas de la
hotte. Tracez une ligne de référence sur le mur.
3 Collez le gabarit en place, en alignant la ligne médiane du gabarit et le bas du gabarit
avec la ligne inférieure de la hotte et avec la ligne médiane marquée sur le mur.
D
13.38"
7.48"
15.35"
3.14"
6.3"
Ligne médiane des armoires
et/ou de la table de cuisson
Marquez
l’emplacement
du trou à une
distance de
0,375" (9,5 mm)
à 0,5" (12,7 mm)
du plafond ou de
l’emplacement
du trou le plus
haut.
Faites
chevaucher les
trous lors de
l’installation de
la cheminée
décorative
réglable.
Ruban
adhésif
Support
mural
25,6'’ (65 cm) min à la surface
de cuisson 29.53'' (75 cm) max
à la surface de cuisson
REMARQUE : Assurez-vous que les lignes horizontales sont de niveau avant de marquer
l’emplacement des trous.
Bekijk gratis de handleiding van Midea MVP30W6AST, stel vragen en lees de antwoorden op veelvoorkomende problemen, of gebruik onze assistent om sneller informatie in de handleiding te vinden of uitleg te krijgen over specifieke functies.
Productinformatie
| Merk | Midea |
| Model | MVP30W6AST |
| Categorie | Afzuigkap |
| Taal | Nederlands |
| Grootte | 2805 MB |







