Microchip RTPF500T handleiding
Handleiding
Je bekijkt pagina 22 van 107

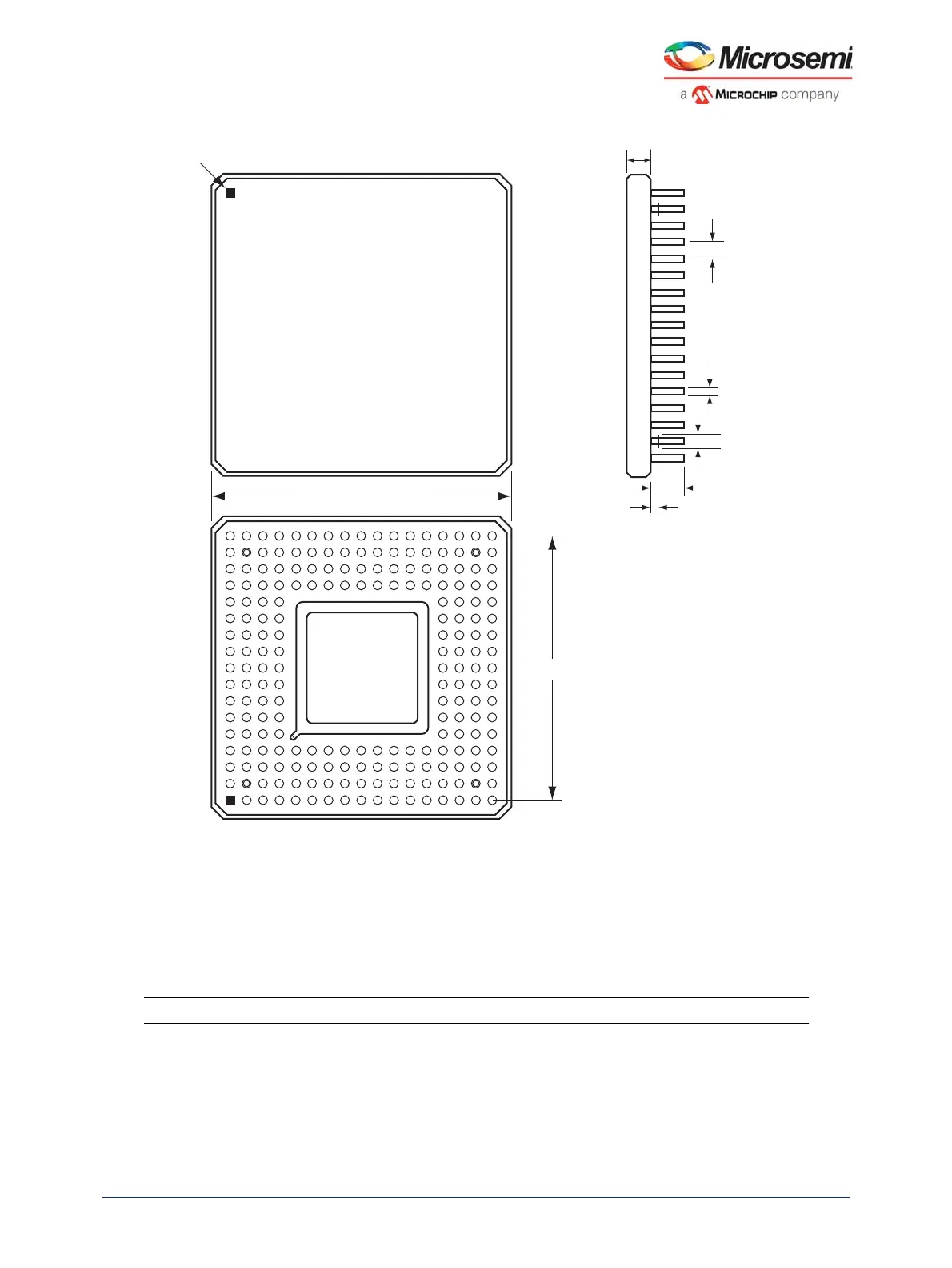
Package Mechanical Drawings
5193068 PD3068 Datasheet Revision 62.0 13
Figure 6 • Package Outline of PG207
Note: All dimensions are in inches unless otherwise stated.
Note: BSC = Basic spacing between centers.
The following table lists the supported devices for PG207.
2.2.7 PG257
The following figure shows the package outline of PG257.
Table 7 • Supported Devices for PG207
Supported Devices
A1460A
0.100" BSC
0.05" ± 0.005"
0.115" ± 0.011"
111213141516 1710987654321
U
T
R
P
N
M
L
K
J
H
G
F
E
D
C
B
A
1.600" BSC
0.018" ± 0.002"
0.180" ± 0.010"
0.05" ± 0.005"
Top View
Side View
Bottom View
Index Mark
1.77" ± 0.010" square
Bekijk gratis de handleiding van Microchip RTPF500T, stel vragen en lees de antwoorden op veelvoorkomende problemen, of gebruik onze assistent om sneller informatie in de handleiding te vinden of uitleg te krijgen over specifieke functies.
Productinformatie
Merk | Microchip |
Model | RTPF500T |
Categorie | Niet gecategoriseerd |
Taal | Nederlands |
Grootte | 16061 MB |