Lutron Caseta DVRF-6L-WH handleiding
Handleiding
Je bekijkt pagina 13 van 30

®
SPECIFICATION SUBMITTAL Page
Job Name:
Job Number:
Model Numbers:
Caséta by Lutron Load Controls
369987l 13 2.24.23
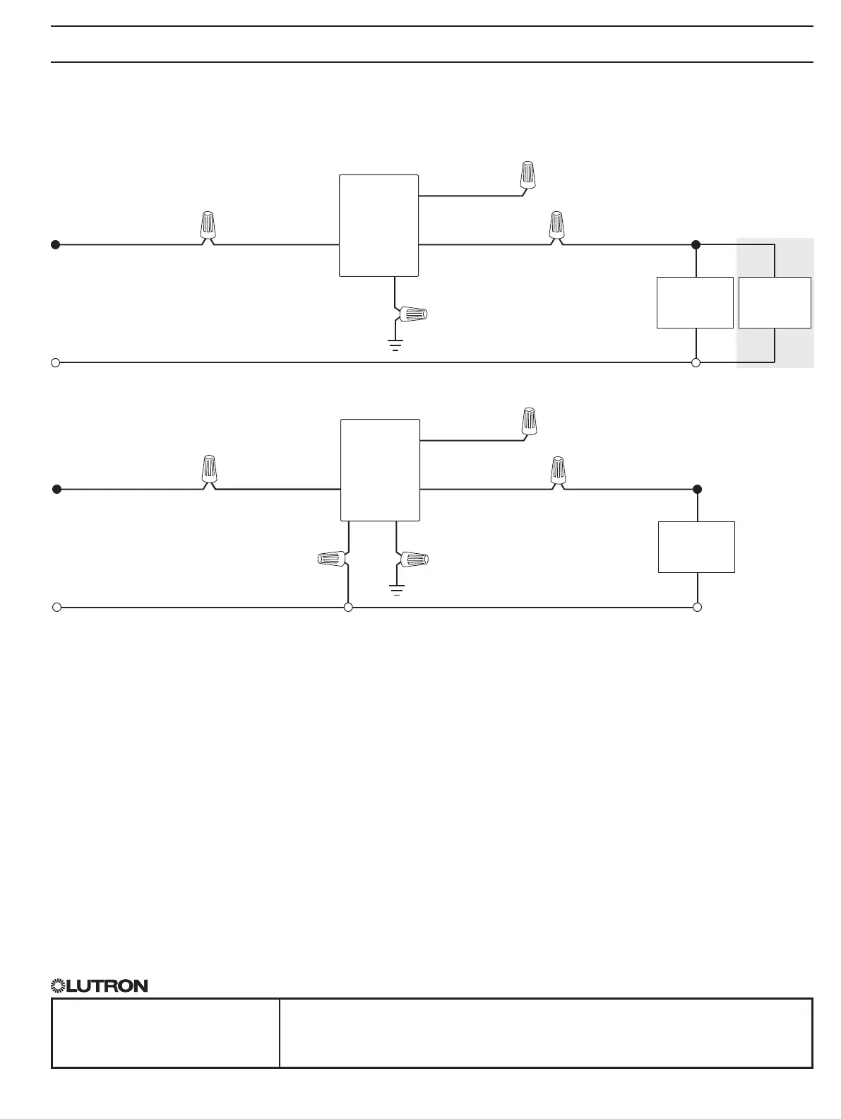
Wiring Diagrams - Switches
1
When using controls without a mechanical 3-way switch, cap the blue terminal. Do not connect the blue wire to any other wiring or to ground.
2
A LUT-MLC ensures proper function when LED, fluorescent, or ELV loads are used. Install the LUT-MLC inside a load fixture or in a separate junction box
within the circuit.
3
The red wire must be connected to the load and the black wire must be connected to Line / Hot. The switch will not work if the wires are reversed.
Single Pole Installation (load is controlled from 1 location)
PD-5WS-DV
PD-5ANS, PD-6ANS, DVRF-5NS
PD-5WS-DV
PD-5ANS,
PD-6ANS
or DVRF-5NS
LUT-MLC
2
Load
Load
Line / Hot
Line / Hot
Neutral
Neutral
Green
Green
Ground
Ground
Black
Black
Red
Red
3
Blue
1
Blue
1
120 / 277 V~
50 / 60 Hz
120 V~
50 / 60 Hz
(continued on next page…)
White
13
Bekijk gratis de handleiding van Lutron Caseta DVRF-6L-WH, stel vragen en lees de antwoorden op veelvoorkomende problemen, of gebruik onze assistent om sneller informatie in de handleiding te vinden of uitleg te krijgen over specifieke functies.
Productinformatie
| Merk | Lutron |
| Model | Caseta DVRF-6L-WH |
| Categorie | Niet gecategoriseerd |
| Taal | Nederlands |
| Grootte | 3733 MB |

