Handleiding
Je bekijkt pagina 19 van 80

19INSTALLATION
ENGLISH
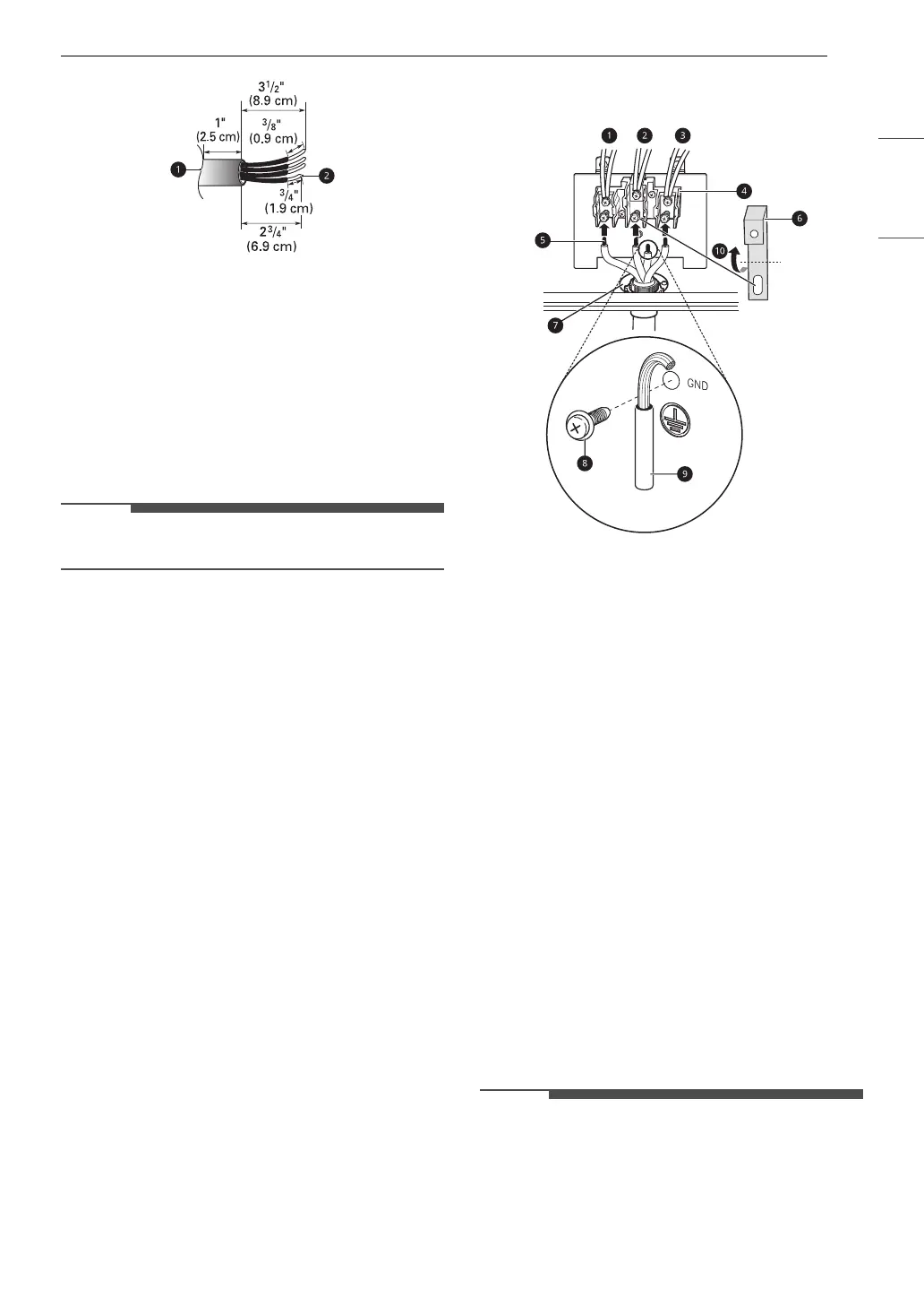
a Cord/Conduit Connection Plate
b Ground Wire
3 Install the conduit strain relief.
1) Insert the strain relief in the 1 1/8 in. (2.8
cm) conduit hole.
2) Install the conduit through the body of
the strain relief and fasten the strain relief
with its ring.
NOTE
• For conduit installations, purchase a strain relief.
4 Reinstall the cord/conduit connection plate.
Conduit Connections
If the wire in the conduit is copper it must be 8 or
10 AWG wiring.
If the wire in the conduit is aluminum it must be 6
or 8 AWG wiring.
1 Loosen the 2 lower left and right screws from
the terminal block. Remove the lower 2 center
screws. Do not discard any screws.
2 Remove the ground screw and bend the end
of the ground strap up so the slot is over the
hole of the center screw removed in step 1.
3 Attach the ground (green) bare wire end to
the range frame and secure it in place with
the ground screw.
4 Insert the bare wire (white/neutral) end
through the center terminal block opening.
The center screw now attaches the bent up
ground strap to the block.
5 Insert the two side bare wire ends into the left
and the right terminal block openings.
Tighten the 3 screws securely into the
terminal block. (approximately 35 - 50 IN-LB)
a Black
b White
c Red
d Terminal Block
e Wire Ends
f Ground Strap
g Conduit Connection Plate
h Ground Screw
i Ground Wire
j Bend strap up and attach.
Optional Rear Filler
Installing the Rear Filler
If the counter does not bridge the opening at the
rear wall, the rear filler kit which is provided with
the slide in range will be needed.
NOTE
• If the countertop depth is greater than 25 3/8"
there will be a gap between the filler kit and the
back wall.
Bekijk gratis de handleiding van LG LTEL7337B, stel vragen en lees de antwoorden op veelvoorkomende problemen, of gebruik onze assistent om sneller informatie in de handleiding te vinden of uitleg te krijgen over specifieke functies.
Productinformatie
Merk | LG |
Model | LTEL7337B |
Categorie | Fornuis |
Taal | Nederlands |
Grootte | 8286 MB |