Handleiding
Je bekijkt pagina 18 van 80

18 INSTALLATION
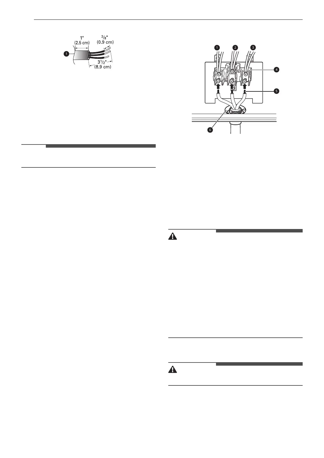
2 Prepare the conduit wires as shown below.
a Cord/Conduit connection plate
3 Install the conduit strain relief.
1) Insert the strain relief in the 1 1/8 in. (2.8
cm) conduit hole.
2) Install the conduit through the body of
the strain relief and fasten the strain relief
with its ring.
NOTE
• For conduit installations, purchase a strain relief.
4 Reinstall the cord/conduit connection plate.
Conduit Connections
If the wire in the conduit is copper it must be 8 or
10 AWG wiring.
If the wire in the conduit is aluminum it must be 6
or 8 AWG wiring.
1 Loosen the lower 3 screws from the terminal
block.
2 Insert the bare wire (white/neutral) end
through the center terminal block opening.
Do not remove the ground strap connections.
3 Insert the two side bare wire ends into the
lower left and the lower right terminal block
openings.
4 Tighten the 3 screws securely into the
terminal block. (approximately 35 - 50 IN-LB)
a Black
b White
c Red
d Terminal Block
e Wire Ends
f Conduit Connection Plate
4-Wire Connection: Conduit
WARNING
• The white middle (neutral) wire of the power
cord or 4-wire conduit has to be connected to
the middle post of the main terminal block. The
other two wires of the power cord or conduit
have to be connected to the outside posts of the
main terminal connection block. The 4th ground
wire (green) must be connected to the frame of
the range with the ground screw. Failure to do
so can result in electrical shock, severe personal
injury or death.
• If screws are not tightened securely, it can result
in electrical spark and severe personal injury or
death.
Conduit Installations
CAUTION
• Do not install the conduit without a strain relief.
1 Remove the cord/conduit connection plate
from the rear of the oven and rotate it.
• The conduit hole (1 1/8") must be used.
2 Prepare the conduit wires as shown below.
Bekijk gratis de handleiding van LG LTEL7337B, stel vragen en lees de antwoorden op veelvoorkomende problemen, of gebruik onze assistent om sneller informatie in de handleiding te vinden of uitleg te krijgen over specifieke functies.
Productinformatie
Merk | LG |
Model | LTEL7337B |
Categorie | Fornuis |
Taal | Nederlands |
Grootte | 8286 MB |