Handleiding
Je bekijkt pagina 14 van 28

14
INSTALLATION
• Before installing the appliance, check that the
local conditions (type of gas and pressure) are
compatible with the appliance settings. The
permissible appliance settings can be found on
the rating plate.
• Connection to the gas lines and seal fitting must
be carried out professionally according to the
currently applicable standards.
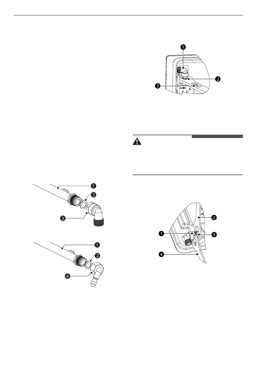
Gas Connection on the Appliance
The gas connection is located at the rear right of
the appliance.
Only use connecting lines or flexible hoses (tubes)
which comply with the applicable regulations and
which are approved for this purpose.
Gas supply replacement and installation
guidelines:
• Screw the female threaded elbow and the seal to
the end of the gas pipe.
• Hold the elbow with a wrench and connect the
flexible gas connecting tube (hose) to the elbow.
LNG
LPG
a
Gas Pipe
b
Seal
c
G1/2" female threaded elbow (suitable for 24
mm wrench)
d
Ø11.5 female threaded elbow (suitable for 24
mm wrench)
a
Elbow
b
Black nut of manifold
c
Torque: 9±1 Nm
CAUTION
• lf necessary to adjust or install the elbow, it is
allowed only torque wrench with 9±1 Nm, and
work on the Black nut of manifold instead of on
the elbow.
Adjusting the Direction of Elbow
a
The hexagonal head of the elbow
b
Tighten with a torque wrench of 9±1 Nm
c
The black bolt of the gas inlet pipe assembly
d
Hold still
After loosening the elbow, adjust the elbow
interface to the required direction as required, and
keep the hexagonal head of the elbow motionless
with a wrench. Use a 9±1 Nm torque wrench to
tighten the black bolt of the gas inlet pipe
assembly. Ensure that the torque of the wrench is
Bekijk gratis de handleiding van LG CBGZ3016S, stel vragen en lees de antwoorden op veelvoorkomende problemen, of gebruik onze assistent om sneller informatie in de handleiding te vinden of uitleg te krijgen over specifieke functies.
Productinformatie
| Merk | LG |
| Model | CBGZ3016S |
| Categorie | Fornuis |
| Taal | Nederlands |
| Grootte | 2190 MB |
Caratteristiche Prodotto
| Apparaatplaatsing | Ingebouwd |
| Soort bediening | Draaiknop |
| Kleur van het product | Roestvrijstaal |
| Ingebouwd display | Nee |
| Gewicht | 11800 g |







