Lenovo C360 handleiding
Handleiding
Je bekijkt pagina 54 van 61

49
User Guide
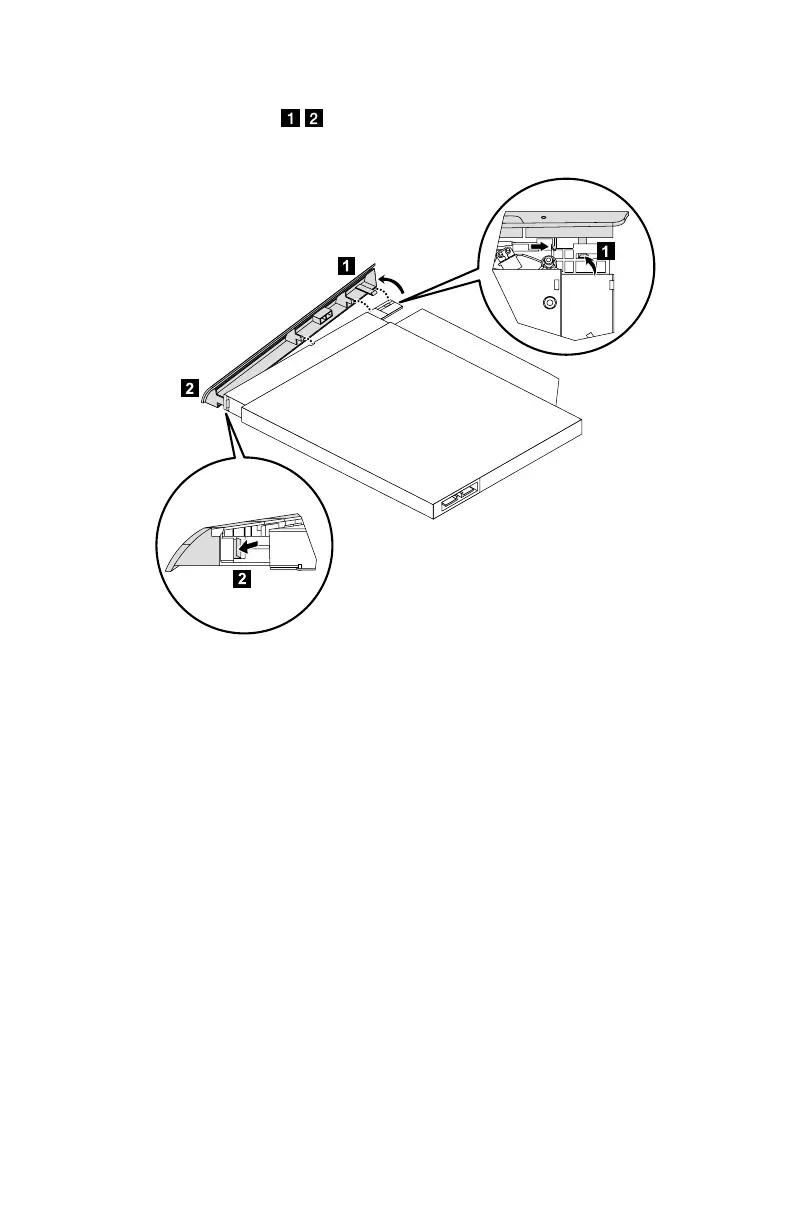
9. Use a small flat head screwdriver to press and push out the pins that secure
the cover to the disk.
10. Separate the cover from the defective optical drive.
11. To install the new optical drive:
a. Align the new optical drive with the cover, and then push the cover back
into position.
b. Attach the bracket to the optical disk drive.
b. Slide the new optical drive into the drive bay.
12. Reattach the foot cover and stand base.
Bekijk gratis de handleiding van Lenovo C360, stel vragen en lees de antwoorden op veelvoorkomende problemen, of gebruik onze assistent om sneller informatie in de handleiding te vinden of uitleg te krijgen over specifieke functies.
Productinformatie
| Merk | Lenovo |
| Model | C360 |
| Categorie | Niet gecategoriseerd |
| Taal | Nederlands |
| Grootte | 4386 MB |
Caratteristiche Prodotto
| Kleur van het product | Blauw |
| Gewicht | 1900 g |
| Breedte | 361.5 mm |
| Diepte | 248.85 mm |
| Hoogte | 17.8 mm |







