Kospel SV-1000.1 handleiding
Handleiding
Je bekijkt pagina 37 van 92

37
PL;DE;EN;ES;FR;NL;HR;HU;RO-061_f.1973
45°
45°
5
8
F
L
G
N
I
J
A
B
C
E
H
D
d
4
6
2
3
7
1
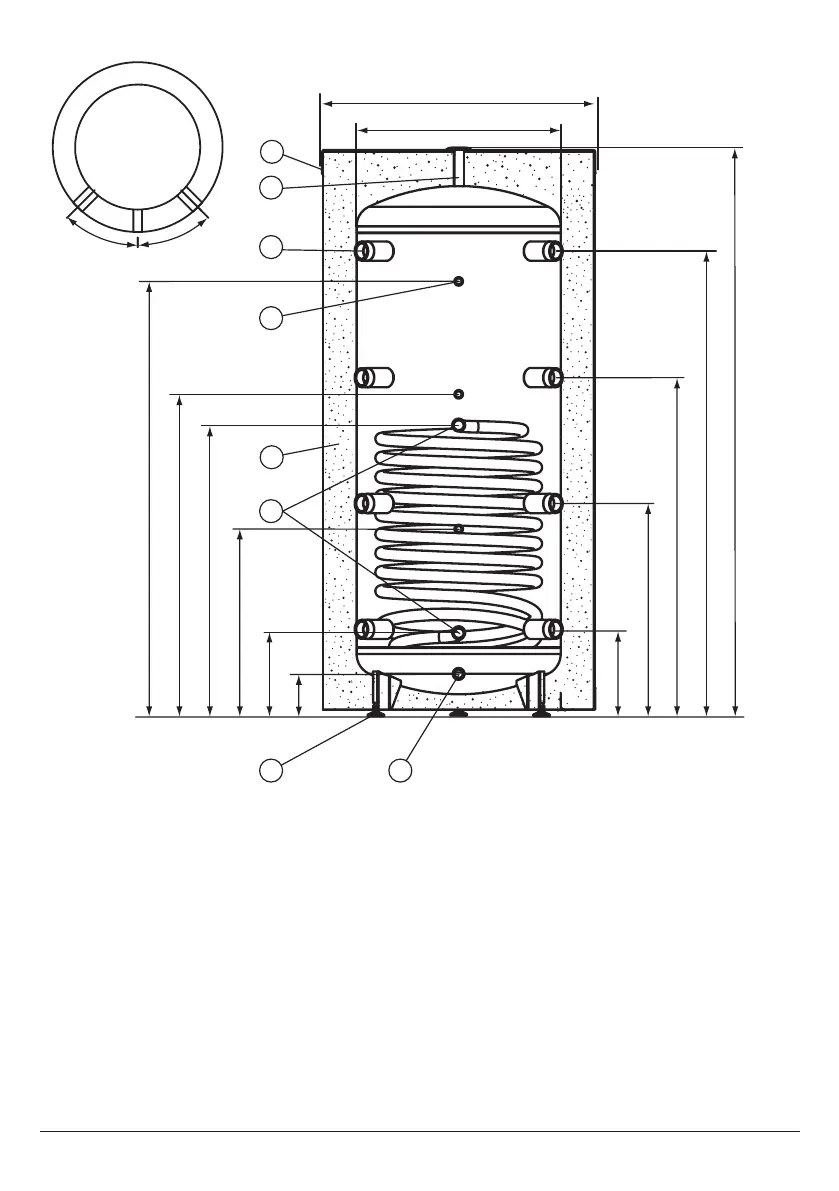
Construcción del tanque de almacenamiento intermedio con serpentín SVW (200l, 300l):
[1] - Tapa superior
[2] - Conexión del purgador de aire (1/2”)
[3] - Conexión de entrada/salida (6/4”)
[4] - Conexión para el sensor de temperatura (1/2”)
[5] - Aislamiento térmico
[6] - Pies de soporte
[7] - Conexión de drenaje (1/2”)
[8] - Conexión de entrada/salida del serpentín 1”
Bekijk gratis de handleiding van Kospel SV-1000.1, stel vragen en lees de antwoorden op veelvoorkomende problemen, of gebruik onze assistent om sneller informatie in de handleiding te vinden of uitleg te krijgen over specifieke functies.
Productinformatie
| Merk | Kospel |
| Model | SV-1000.1 |
| Categorie | Niet gecategoriseerd |
| Taal | Nederlands |
| Grootte | 7382 MB |
