KitchenAid KFGS930SJP handleiding
Handleiding
Je bekijkt pagina 9 van 64

9
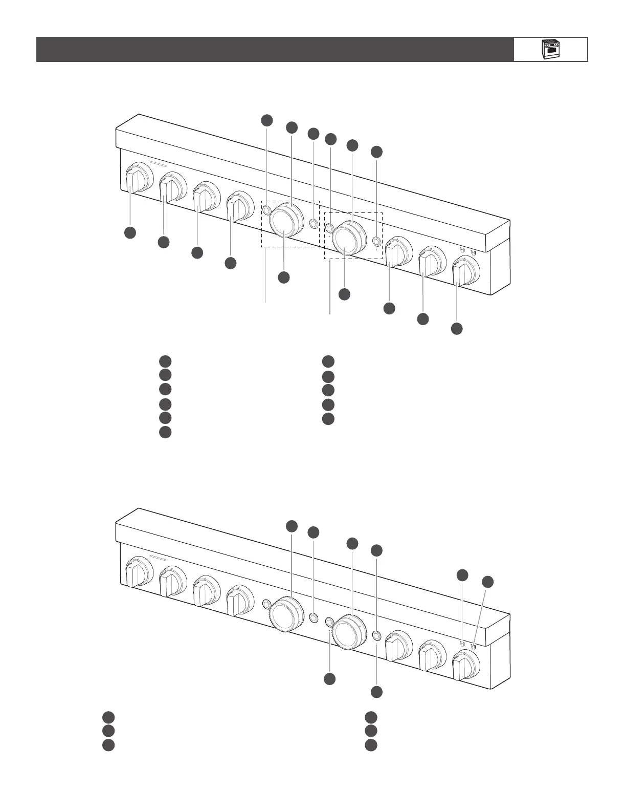
Cooktop Knobs and Buttons
A
Left Rear Knob
B
Left Front Knob
C
Center Rear Knob
D
Center Front Knob
E
Oven Light Button
F
Temperature Knob
G
Mode Knob
H
Oven Start Button
I
Right Rear Knob
J
Right Front Knob
K
Griddle Knob
48" (121.9 CM)
NOTE: Cooktop conguration, features, and controls may differ.
PARTS AND FEATURES
E
H
E
H
G
A
B
C
D
F
G
F
I
J
K
Controls left
cavity
Controls right
cavity
Indicator Lights
A
Temperature and Mode Knob Indicator Light
B
Wi-Fi Indicator
C
Start Button Indicator Light
D
Griddle Preheat Light
E
Griddle Cooktop ON Light
F
Remote Indicator
C
C
D
E
A
A
B
F
Bekijk gratis de handleiding van KitchenAid KFGS930SJP, stel vragen en lees de antwoorden op veelvoorkomende problemen, of gebruik onze assistent om sneller informatie in de handleiding te vinden of uitleg te krijgen over specifieke functies.
Productinformatie
| Merk | KitchenAid |
| Model | KFGS930SJP |
| Categorie | Fornuis |
| Taal | Nederlands |
| Grootte | 10319 MB |






