KitchenAid KFGS930SJP handleiding
Handleiding
Je bekijkt pagina 39 van 64

39
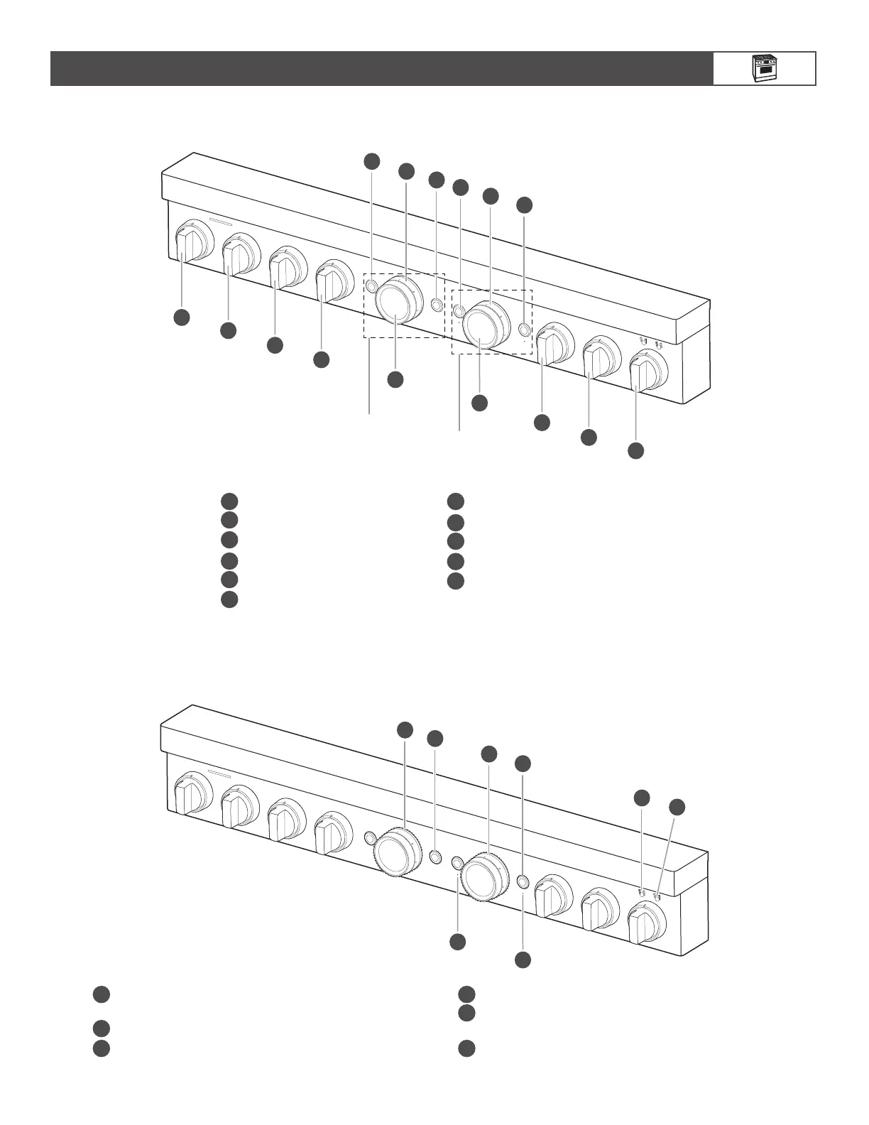
Boutons de la table de cuisson
E
H
E
H
G
A
B
C
D
F
G
F
I
J
K
Commande
la cavité
de gauche
Commande
la cavité
de droite
A
Bouton arrière gauche
B
Bouton avant gauche
C
Bouton arrière central
D
Bouton avant central
E
Bouton de lumière du four
F
Bouton de température
G
Bouton de mode
H
Bouton de mise en marche du four
I
Bouton arrière droit
J
Bouton avant droit
K
Bouton de la plaque à frire
48PO (121,9CM)
REMARQUE: La conguration, les fonctions et les commandes de la table de cuisson peuvent être différentes.
PIÈCES ET CARACTÉRISTIQUES
Témoins lumineux
A
Témoin lumineux du bouton de température
etde mode
B
Témoin Wi-Fi
C
Témoin lumineux du bouton de mise en marche
D
Témoin de préchauffage de la plaque à frire
E
Témoin lumineux d’allumage de la plaque
àfrire de la table de cuisson
F
Témoin de commande à distance
C
C
D
E
A
A
B
F
Bekijk gratis de handleiding van KitchenAid KFGS930SJP, stel vragen en lees de antwoorden op veelvoorkomende problemen, of gebruik onze assistent om sneller informatie in de handleiding te vinden of uitleg te krijgen over specifieke functies.
Productinformatie
| Merk | KitchenAid |
| Model | KFGS930SJP |
| Categorie | Fornuis |
| Taal | Nederlands |
| Grootte | 10319 MB |






