Intergas Xtend Split handleiding
Handleiding
Je bekijkt pagina 51 van 88

51
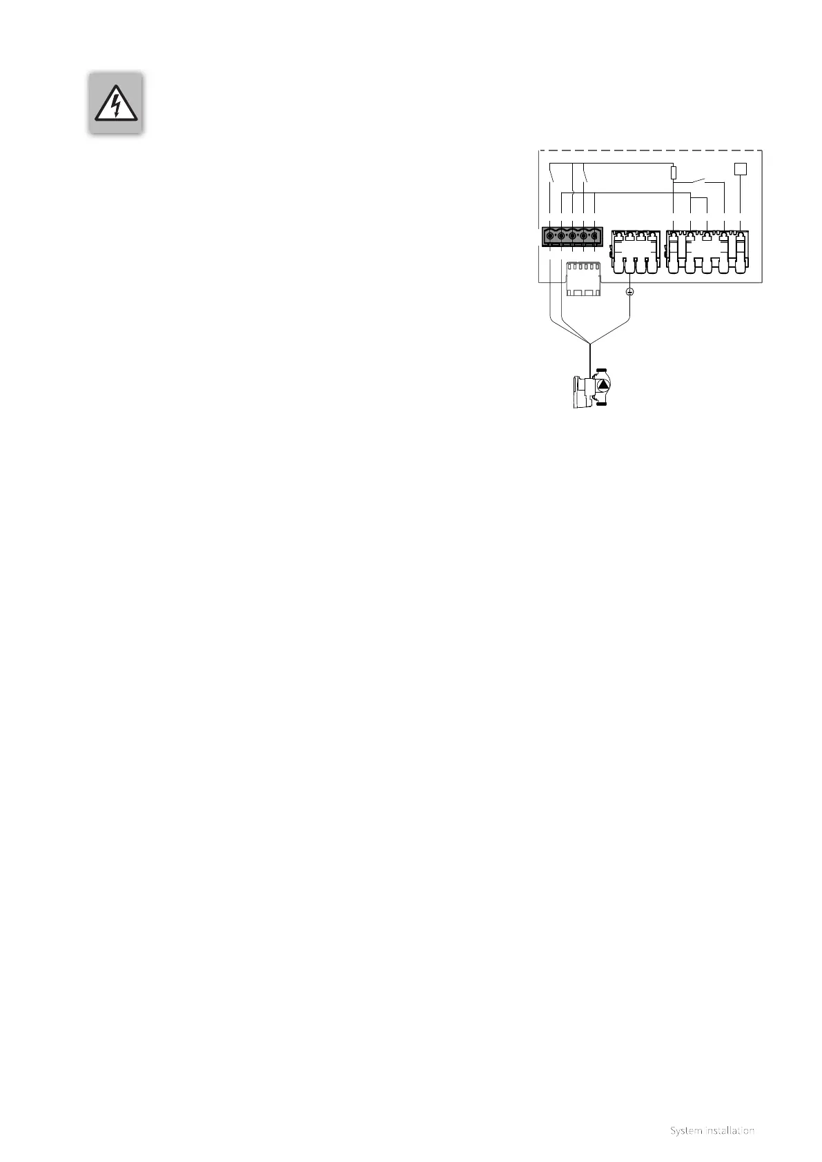
Connector X13 is an additional 230V~ normally open (NO)-
contact and can be used for connecting a secondary pump,
valve etc.
Use AUX1 to connect a secundary pump:
► Using the included 5-pole green connector, wire the pump
connections to screw terminals 4 and 5 and then push
this into position X13 of the indoor unit, as shown in the
adjacent illustration.
► Earth to terminal X0.
► Set Parameter P068 to "10".
Use AUX2 as an additional (NO)-contact:
► Using the included 5-pole green connector, wire the pump
connections to screw terminals 1 and 2 and then push this
into position X13
► Earth to terminal X0.
► Set Parameter P069 to the desired value.
See §11.6 Parameters for a full value list for P068 and P069.
AUX1 AUX2 Fuse
CPU
X0
X1
NL
3
L
2
L
F
N NL L
1
N 3
4
5
3 2 1
X14
X13
8.8.10 Connecting a secondary pump
WARNING
► A permanent mains voltage is present at
pin 3 of connector X13
Bekijk gratis de handleiding van Intergas Xtend Split, stel vragen en lees de antwoorden op veelvoorkomende problemen, of gebruik onze assistent om sneller informatie in de handleiding te vinden of uitleg te krijgen over specifieke functies.
Productinformatie
| Merk | Intergas |
| Model | Xtend Split |
| Categorie | Niet gecategoriseerd |
| Taal | Nederlands |
| Grootte | 11570 MB |




