Intergas Xclusive 24 handleiding
Handleiding
Je bekijkt pagina 60 van 92

60
9.2.2 Programming the DHW pre-heat on / o times
To apply the clock program
► With the boiler in standby or operating gently tap just above
the power LED to access the main menu (also see §9.1.1).
► Tap on the Central Heating symbol. The current
temperature of the central heating water is illuminated in
the le display. Tap the Central Heating symbol again to
activate the programmed time settings.
► Using the Plus or Minus symbol, set the desired
program option (P-on, T-on, On or O).
► Tap the Enter symbol to confirm. The chosen program
option will be saved in the boiler PCB. (Aer 2 minutes of
inactivity any changes made will automatically be saved.
A PP appears in the right display and then returns to the
Central Heating menu.
Note: By tapping just above the power LED instead of the
Enter symbol the display returns to the Central Heating
menu without saving any changes.
Main menu
Domestic hot
water menu
Temperature
Switch moment 1
Switch point t1
Action moment t1
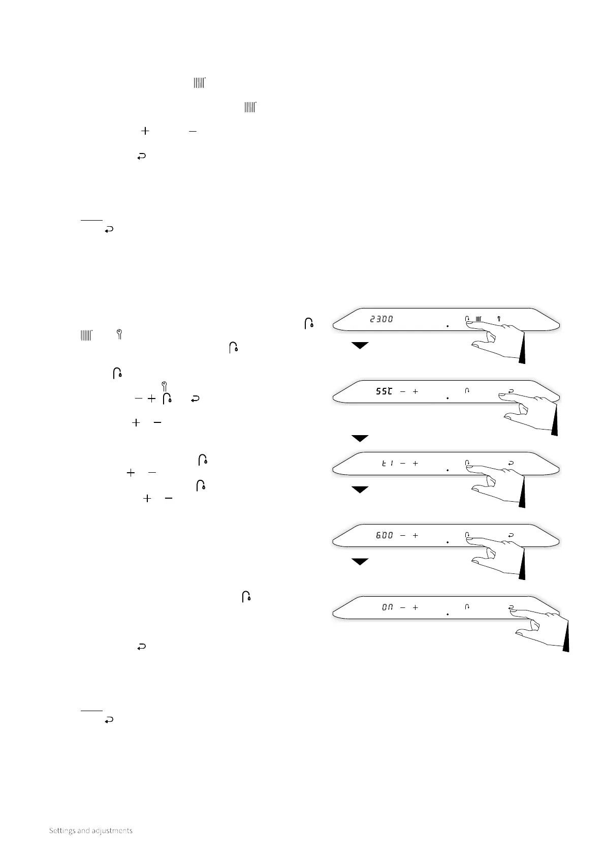
► With the boiler in standby or operating gently tap just above
the power LED to access the main menu. The symbols ,
and illuminate.
► Tap the Domestic Hot Water symbol
. The set temperature
is shown on the le display. Tap the Domestic Hot Water
symbol
again to switch to the clock program setting
► Tap on the Service symbol.
► The symbols , , and are displayed. Also the first
switching period "t1" illuminates on the le display.
► Tapping the or symbol will scroll between the 4
dierent on/o switching periods.
► Choose a switching period (for instance "t1") and tap on the
Domestic Hot Water symbol
.
► Tap on the or symbol to set the time and tap the
Domestic Hot Water symbol
again to set the desired
action, use the or symbols to select either On / O or –.
The actions to be set are as follows:
► On: Start period, DHW pre heat will now keep the heat
exchanger at the preset temperature.
► O: End period, DHW pre heat is now deactivated so
the heat exchanger will not be kept at temperature.
► – – : No action. The time period set will be ignored
during this section resulting in no On or O period.
► Tap on the Domestic Hot Water symbol
to select the
next switching period. Set the switching time and the
corresponding action and repeat this, if required, for all 4
switching periods.
► Tap the Enter symbol to confirm. The switching times and
actions will be saved in the boiler PCB. (Aer 2 minutes of
inactivity changes made will also be saved).
A PP illuminates in the right display before it returns to the
Central Heating menu.
Note: By tapping just above the power LED instead of the
Enter symbol the display returns to the Central Heating
menu without saving any changes.
Bekijk gratis de handleiding van Intergas Xclusive 24, stel vragen en lees de antwoorden op veelvoorkomende problemen, of gebruik onze assistent om sneller informatie in de handleiding te vinden of uitleg te krijgen over specifieke functies.
Productinformatie
| Merk | Intergas |
| Model | Xclusive 24 |
| Categorie | Niet gecategoriseerd |
| Taal | Nederlands |
| Grootte | 12726 MB |




