Intergas Xclusive 24 handleiding
Handleiding
Je bekijkt pagina 59 van 92

59
Show actual time
9.2.1 Programming the CH on / o times
Clock setting and adjusting
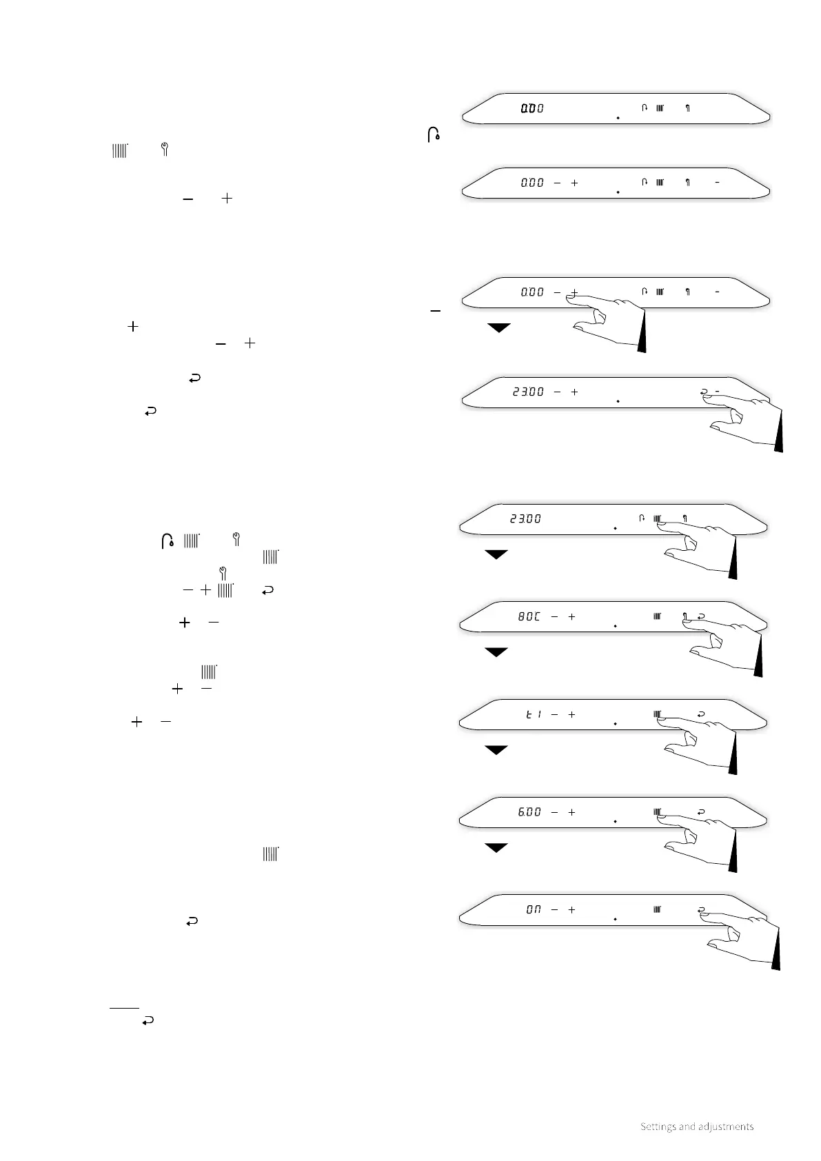
9.2 Setting and adjusting the clock functions
Clock shown (boiler standby)
Clock shown (boiler switched o)
► With the boiler in standby or operating, gently tap just above
the power LED to access the main menu (also see §9.1.1).
The actual time is shown in the le display. The symbols ,
and will also illuminate.
► If the boiler is switched o when accessing the main menu
the symbols and will also illuminate.
Confirm
Switch moment 1
Switch point t1
Action moment t1
Main menu
Main menu
Central heating menu
► Ensure parameter P087 is set to 1 (clock active) default = 1
► Ensure the boiler is switched o by touching and holding
just above the power LED and holding this for 2 seconds.
► Tap just above the power LED to access the main menu.
Adjust the clock to the correct time by pressing either the
or symbol.
Note: Holding the or symbol for more than 1 second
will make the clock time adjustment scroll faster.
► Tap the Enter symbol to confirm.
Note: By tapping just above the power LED instead of the
Enter symbol the display returns to the main menu
without saving any changes.
► With the boiler in standby or operating, gently tap just
above the power LED to access the main menu. The
symbols , and illuminate.
► Tap on the Central Heating symbol.
► Tap on the Service symbol.
► The symbols , , and are displayed. Also the first
switching period "t1" illuminates on the le display.
► Tapping the or symbol will scroll between the 6
dierent on/o switching periods.
► Choose a switching period (for instance "t1") and tap on the
Central Heating symbol.
► Tap on the or symbol to set the time and tap the
Central Heating symbol again to set the desired action, use
the or symbol to select either On / O or –.
The options are as follows:
► On: Start period CH on providing there is a demand
from the room thermostat.
► O: End period CH o. No hearting demand will be
provided (boiler frost protection only).
► – – : No action. The time period set will be ignored
during this section resulting in no On or O period.
► Tap on the Central Heating symbol to select the
next switching period. Set the switching time and the
corresponding action and repeat this, if required, for all 6
switching periods.
► Tap the Enter symbol to confirm. The switching times
and actions will be saved in the boiler PCB. (Aer 2 minutes
of inactivity changes made will also be saved).
A PP appears in the right display before it returns to the
Central Heating menu.
Note: By tapping just above the power LED instead of the
Enter symbol the display returns to the Central Heating
menu without saving any changes.
Bekijk gratis de handleiding van Intergas Xclusive 24, stel vragen en lees de antwoorden op veelvoorkomende problemen, of gebruik onze assistent om sneller informatie in de handleiding te vinden of uitleg te krijgen over specifieke functies.
Productinformatie
| Merk | Intergas |
| Model | Xclusive 24 |
| Categorie | Niet gecategoriseerd |
| Taal | Nederlands |
| Grootte | 12726 MB |




