Icom IC-DV75 handleiding
Handleiding
Je bekijkt pagina 24 van 50

7-2
7
そのほかの機能について
■GPS機能
(GPS機能搭載版のみ)
自局の位置情報(緯度/経度)を表示したり、自局の位置情報を相手局に送信したりできる機能です。
相手局の位置情報を受信したときは、自局から相手局までの距離と、自局から見た相手局の方位が表示されます。
※GPS機能を使用する場合は、設定モード(P.8-4)での設定が必要です。
※ 「
」が点滅から点灯に変わると、受信(測位)完了です。
点滅している状態では、位置情報の表示や録音履歴、発着信履歴使用時の時刻表示ができません。
※ご使用になる場所や建物の周辺環境によって、特に屋内では、GPS衛星からの信号を受信できない場合があります。
※IC-DV75のアナログモードでは、自局の位置情報を表示する機能として使用できます。
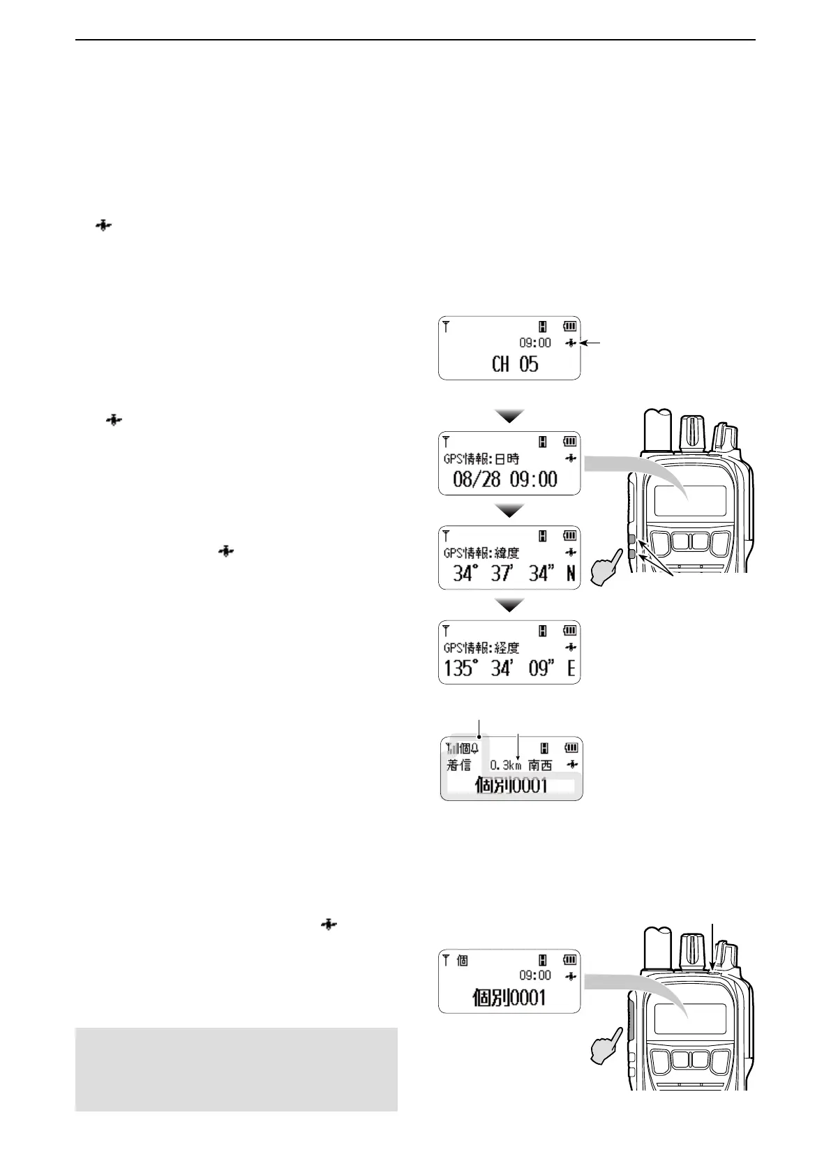
【自局の位置情報を確認するには】
[サイド1]、または[サイド2]に「GPS情報」の割り当て
が必要です。
設定は、お買い上げの販売店にご依頼ください。
1. 「
」が点灯(測位が完了)していることを確認しま
す。
2.「GPS情報」が割り当てられた[サイド1]、または[サ
イド2]を押します。
ㅡ 押すごとに、日時、緯度、経度表示が切り替わり
ます。
※
お買い上げの販売店で自局初期位置情報が設定さ
れている場合は、「
」が点滅している(測位が完了
していない)ときでも、緯度、経度を表示できます。
このとき、「GPS情報:緯度設定」、および「GPS
情報:経度設定」と表示されます。
測位完了時の表示
どちらかに
「GPS情報」の
割り当てが必要
点灯
押す
【相手局から位置情報を受信したときの表示】
GPS機能が設定されているとき、相手局から位置情報
付きの呼び出し(個別/ユーザーコード)を受けると、自
局と相手局までの距離、および自局からみた相手局の方
位が表示されます。
※
個別呼び出し機能が「OFF」の場合でも、録音再生機能、
またはポケットビープ機能が「ON」の場合は、距離、
および方位が表示されます。
各機能の設定は、お買い上げの販売店にご依頼ください。
【自局の位置情報を送信するには】
「GPS送信」(P.8-4)を「ON」に設定し、
「 」が点灯し
ている状態で、個別呼び出し(P.3-1)、またはユーザー
コードによる呼び出し(P.4-1)をします。
ㅡ音声と同時に、自局の位置情報が通話相手に送信され
ます。
押しつづける
赤色に点灯
ご注意
[PTT]を押すと、位置情報を送信後に、音声が送信さ
れます。
「ピピッ」と鳴ってから、通話相手に呼びかけてください。
点滅 相手局が自局から南西へ
0.3km
★
先にいることを表示
★相手局との距離が10km以
上離れているときは、小数
点以下が表示されません。
Bekijk gratis de handleiding van Icom IC-DV75, stel vragen en lees de antwoorden op veelvoorkomende problemen, of gebruik onze assistent om sneller informatie in de handleiding te vinden of uitleg te krijgen over specifieke functies.
Productinformatie
Merk | Icom |
Model | IC-DV75 |
Categorie | Niet gecategoriseerd |
Taal | Nederlands |
Grootte | 11140 MB |