I-PRO WV-U15750-V3L handleiding

147 pagina's
PDF beschikbaar

Handleiding

Je bekijkt pagina 13 van 147
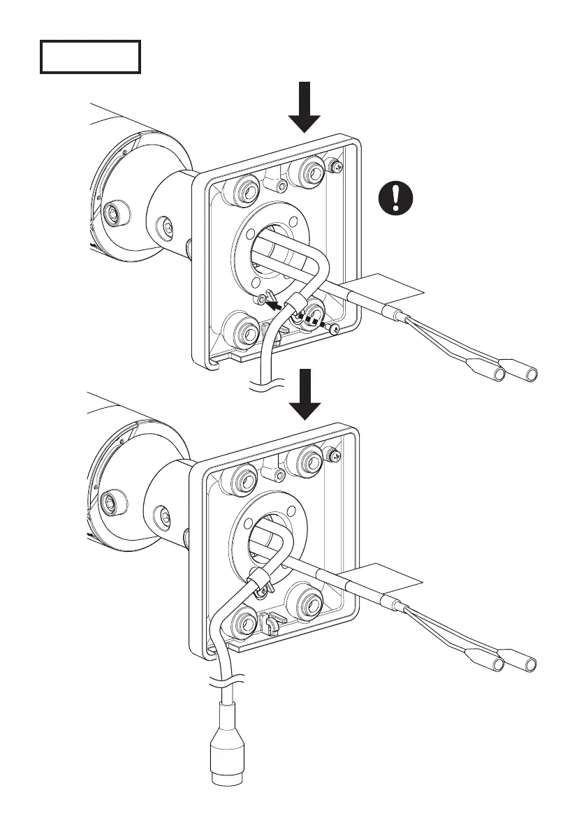
Step 1 Preparations (Continued)
Recommended tightening torque:
0.8 N·m {0.59 lbf·ft}
13

Bekijk gratis de handleiding van I-PRO WV-U15750-V3L, stel vragen en lees de antwoorden op veelvoorkomende problemen, of gebruik onze assistent om sneller informatie in de handleiding te vinden of uitleg te krijgen over specifieke functies.

Productinformatie

MerkI-PRO
ModelWV-U15750-V3L
CategorieBewakingscamera
TaalNederlands
Grootte18013 MB