Handleiding
Je bekijkt pagina 26 van 44

EN / 26
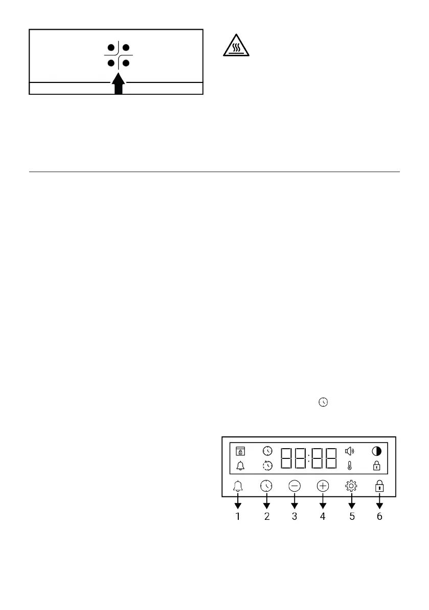
Hot zone warning indicator shows the posi-
tion of the turned on hob, and it remains lit
after it is turned off. A flickering light on the
hot zone warning indicator is not a mal-
function.
Hob surface may cool down at dif-
ferent periods as per usage. Hob
surface may be hot even when the
warning indicators are not lit. En-
sure that the surface is cooled
down prior to coming to contact
with it. Otherwise, you may burn
your hand!
7 Using the Oven
7.1 General Information on Using the
Oven
Cooling fan ( It varies depending on the
product model. It may not be available on
your product. )
Your product has a cooling fan. The cooling
fan is activated automatically when neces-
sary and cools both the front of the product
and the furniture. It is automatically deac-
tivated when the cooling process is fin-
ished. Hot air comes out over the oven
door. Refrain from covering these ventila-
tion openings. Otherwise, the oven may
overheat. The cooling fan continues to op-
erate during oven operation or after the
oven is turned off (approximately 20-30
minutes). If you cook by programming the
oven timer, at the end of the baking time,
the cooling fan turns off with all functions.
The cooling fan running time cannot be de-
termined by the user. It turns on and off
automatically. This is not an error.
Oven lighting
The oven lighting is turned on when the
oven starts baking. In some models, the
lighting is on during baking, while in some
models it turns off after a certain time.
7.2 Using the bottom section of the
oven
General warnings for the oven control unit
• The maximum time that can be set for
the baking process is 5 hours 59
minutes. In case of a power failure, the
program is canceled. You will need to re-
program
• While making any adjustments, the relev-
ant symbols flash on the display. A short
time should be waited for the settings to
be saved.
• If any cooking setting has been made, the
time of day cannot be adjusted.
• If cooking time is set when cooking
starts, the remaining time is displayed on
the display.
• In cases where cooking time or cooking
end time is set; you can cancel automat-
ically by touching the key for a long
time.
Timer
1 Alarm key
2 Time setting key
3 Decrease key
4 Increase key
Bekijk gratis de handleiding van Hotpoint HDE6VDCAX, stel vragen en lees de antwoorden op veelvoorkomende problemen, of gebruik onze assistent om sneller informatie in de handleiding te vinden of uitleg te krijgen over specifieke functies.
Productinformatie
Merk | Hotpoint |
Model | HDE6VDCAX |
Categorie | Fornuis |
Taal | Nederlands |
Grootte | 4587 MB |