GW Instek PSW30-72 handleiding
Handleiding
Je bekijkt pagina 27 van 133

GETTING STARTED
27
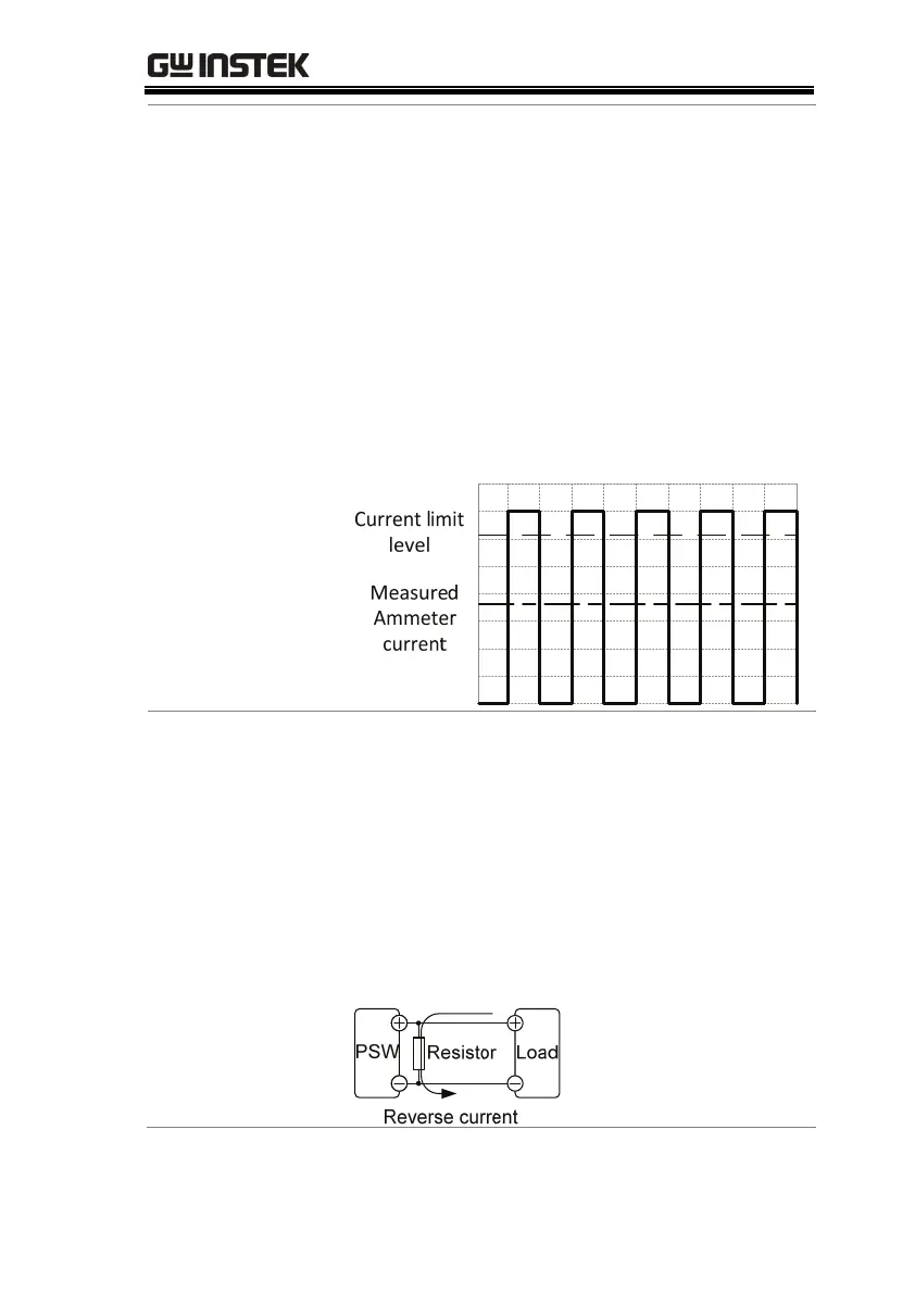
Pulsed or Peaked
loads
When the load has current peaks or is pulsed, it
is possible for the maximum current to exceed
the mean current value. The PSW power
supply ammeter only indicates mean current
values, which means for pulsed current loads,
the actual current can exceed the indicated
value. For pulsed loads, the current limit must
be increased, or a power supply with a greater
capacity must be chosen. As shown below, a
pulsed load may exceed the current limit and
the indicated current on the power supply
ammeter.
Reverse Current:
Regenerative load
When the power supply is connected to a
regenerative load such as a transformer or
inverter, reverse current will feed back to the
power supply. The PSW power supply cannot
absorb reverse current. For loads that create
reverse current, connect a resistor in parallel to
the power supply to bypass the reverse
current. This description only applies when the
bleed resistance is off.
Bekijk gratis de handleiding van GW Instek PSW30-72, stel vragen en lees de antwoorden op veelvoorkomende problemen, of gebruik onze assistent om sneller informatie in de handleiding te vinden of uitleg te krijgen over specifieke functies.
Productinformatie
Merk | GW Instek |
Model | PSW30-72 |
Categorie | Niet gecategoriseerd |
Taal | Nederlands |
Grootte | 11631 MB |