Grillmeister GGW 84 B1 handleiding
Handleiding
Je bekijkt pagina 11 van 66

GRILL MEISTER GGW 84 B1
English - 9
Step 4
Slide the axle (12) through the bottom hole of the wheel legs (13). Now place the wheels (11)
onto the ends of the axle (12). Hand-screw the cap nuts (22) onto the ends of the axle (12).
Then, using two size 13 open-ended spanners, simultaneously screw both cap nuts (22) tightly
into place.
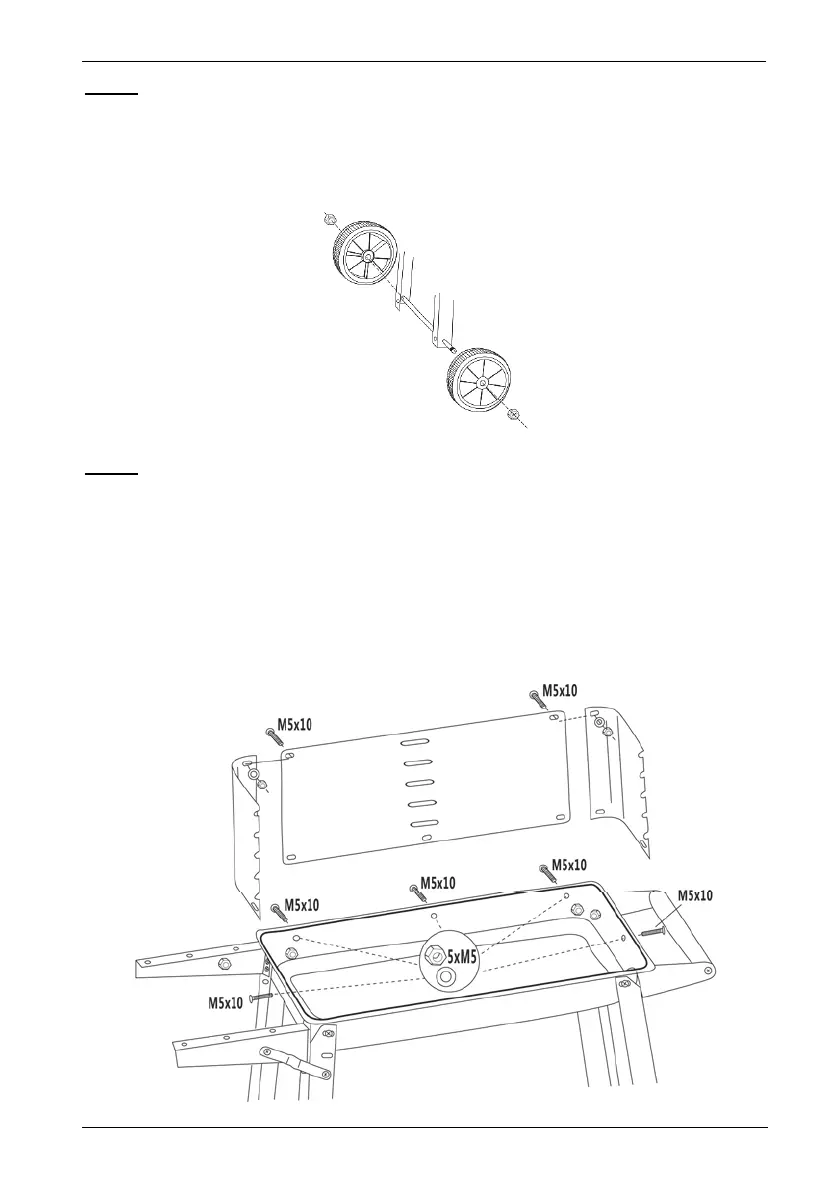
Step 5
Hand-screw the three parts of the wind guard (18, 2, 3) together using the top holes. When
screwing the parts together, ensure that the holes in the wind guard (18, 2, 3) are facing
downwards (as shown in the illustration). You will need two screws (19), two washers (23) and
two nuts (21).
Screw the wind guard (18, 2, 3) to the charcoal basket (5) from the inside. Always ensure that
the heads of the screws face outwards. You will need five screws (19), five washers (23) and
five nuts (21).
Now tighten all the screws.
Bekijk gratis de handleiding van Grillmeister GGW 84 B1, stel vragen en lees de antwoorden op veelvoorkomende problemen, of gebruik onze assistent om sneller informatie in de handleiding te vinden of uitleg te krijgen over specifieke functies.
Productinformatie
| Merk | Grillmeister |
| Model | GGW 84 B1 |
| Categorie | Niet gecategoriseerd |
| Taal | Nederlands |
| Grootte | 7720 MB |






