GLP impression X4 Bar 10 handleiding
Handleiding
Je bekijkt pagina 3 van 30

GLP German Light Products GmbH
impression X4 BAR 10 manual (v1.8) from software version: v0.60 3
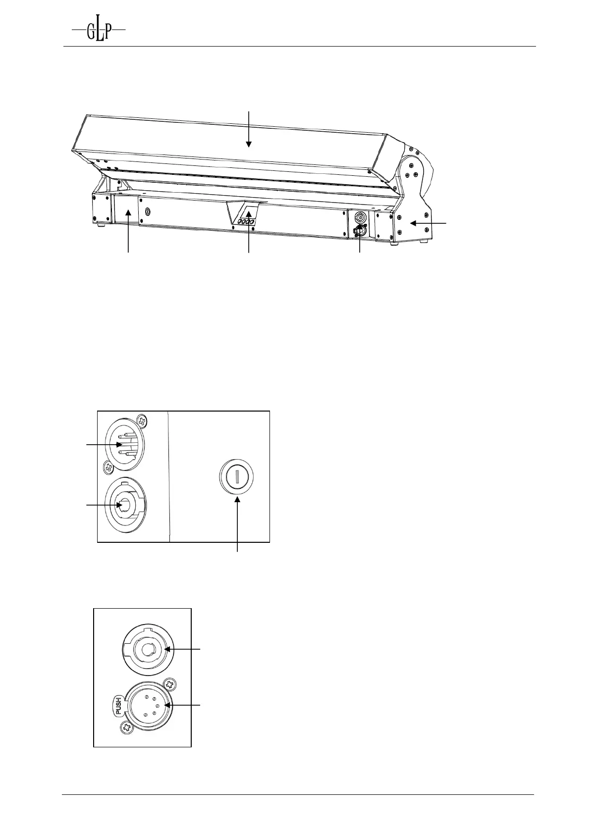
1 Description of Device
1. Moving Bar (actively and passively cooled)
2. LCD-Display / Menu (data entry)
3. Base with rubber feet and Camlock mounting system
A) Base side left
B) Base side right
4. DMX Input (5 pin)
5. Mains Input (blue powerCON)
6. Micro-fuse 5x20mm, T5A
7. Mains Output (white powerCON)
8. DMX Output (5 pin)
1
2
3
4
5
6
7
8
A
B
Bekijk gratis de handleiding van GLP impression X4 Bar 10, stel vragen en lees de antwoorden op veelvoorkomende problemen, of gebruik onze assistent om sneller informatie in de handleiding te vinden of uitleg te krijgen over specifieke functies.
Productinformatie
| Merk | GLP |
| Model | impression X4 Bar 10 |
| Categorie | Verlichting |
| Taal | Nederlands |
| Grootte | 4352 MB |







