Handleiding
Je bekijkt pagina 22 van 45

- 22 -
• Be sure to connect fan cables to the fan headers to prevent your CPU and system from
overheating. Overheating may result in damage to the CPU or the system may hang.
• These fan headers are not conguration jumper blocks. Do not place a jumper cap on the headers.
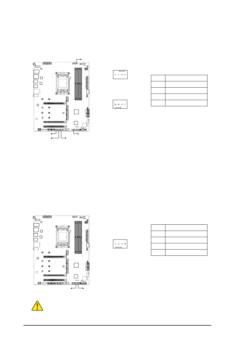
3/4) CPU_FAN/SYS_FAN1/2/3/4 (Fan Headers)
All fan headers on this motherboard are 4-pin. Most fan headers possess a foolproof insertion design.
When connecting a fan cable, be sure to connect it in the correct orientation (the black connector wire is
the ground wire). The speed control function requires the use of a fan with fan speed control design. For
optimum heat dissipation, it is recommended that a system fan be installed inside the chassis.
CPU_FAN
DEBUG
PORT
G.QBOFM
1
DEBUG
PORT
G.QBOFM
1
SYS_FAN1/SYS_FAN2/
SYS_FAN3/SYS_FAN4
Pin No. Denition
1 GND
2 Voltage Speed Control
3 Sense
4 PWM Speed Control
5) FAN5/6_PUMP (System Fan/Water Cooling Pump Headers)
The fan/pump headers are 4-pin. Most fan headers possess a foolproof insertion design. When connecting
a fan cable, be sure to connect it in the correct orientation (the black connector wire is the ground wire).
The speed control function requires the use of a fan with fan speed control design. For optimum heat
dissipation, it is recommended that a system fan be installed inside the chassis. The header also provides
speed control for a water cooling pump. Please navigate to the "BIOS Setup" page of GIGABYTE's website
and search for "Smart Fan 6" for more information.
Pin No. Denition
1 GND
2 Voltage Speed Control
3 Sense
4 PWM Speed Control
DEBUG
PORT
G.QBOFM
1
FAN5_PUMP FAN6_PUMP
CPU_FAN
SYS_FAN1
SYS_FAN2
SYS_FAN3
SYS_FAN4
Bekijk gratis de handleiding van Gigabyte X870 AORUS Elite WIFI7, stel vragen en lees de antwoorden op veelvoorkomende problemen, of gebruik onze assistent om sneller informatie in de handleiding te vinden of uitleg te krijgen over specifieke functies.
Productinformatie
| Merk | Gigabyte |
| Model | X870 AORUS Elite WIFI7 |
| Categorie | Lens |
| Taal | Nederlands |
| Grootte | 4878 MB |

