Handleiding
Je bekijkt pagina 31 van 60

31
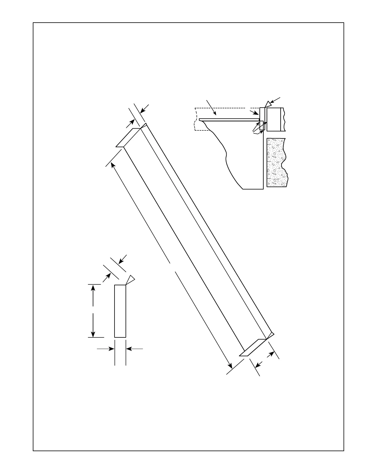
ALTERNATE – CASE RECESSION LESS THAN 3" WITH SIDES AND TOP
OF WALL OPENING WATERPROOF, FLASHING ON BOTTOM ONLY
CAULK*
A
DIMENSIONS:
A. DISTANCE FROM GRILLE OR CASE TO OUTSIDE SURFACE OF WALL PLUS 2” TO 4”
(TO INSERT UNDER CASE).
B. 1” DRIP LIP (MINIMUM)
C. 42” PLUS - SUFFICIENT TO FIT SNUGGLY UNDER AND UP AROUND THE CASE.
D. 2” MINIMUM
(CAUTION: WHEN CAULKING DO NOT BLOCK DRAIN HOLES IN CASE OR GRILLE.)
IF GRILLE IS TO BE MOUNTED TO WALL SURFACE A SPLITTERS MUST BE USED, SEE PAGE 30.
B
D
C
A
B
*Caulk around perimeter of wall case all four sides
where it joins the building - Interior and Exterior.
DRIP
FLASHING
OUTDOOR
GRILLE
CASE
For an installation
that will provide
better protection
against water
infiltration, GE
recommends the use
of one of the deeper
RAB71 wall cases
offered as special
order items. See
page 23.
2020 Data Manual 2002 11/7/02 3:19 PM Page 31
Bekijk gratis de handleiding van GE AZ25E12D2C, stel vragen en lees de antwoorden op veelvoorkomende problemen, of gebruik onze assistent om sneller informatie in de handleiding te vinden of uitleg te krijgen over specifieke functies.
Productinformatie
Merk | GE |
Model | AZ25E12D2C |
Categorie | Airco |
Taal | Nederlands |
Grootte | 12182 MB |