Furuno PG-500 handleiding
Handleiding
Je bekijkt pagina 15 van 32

8
3. INSTALLATION
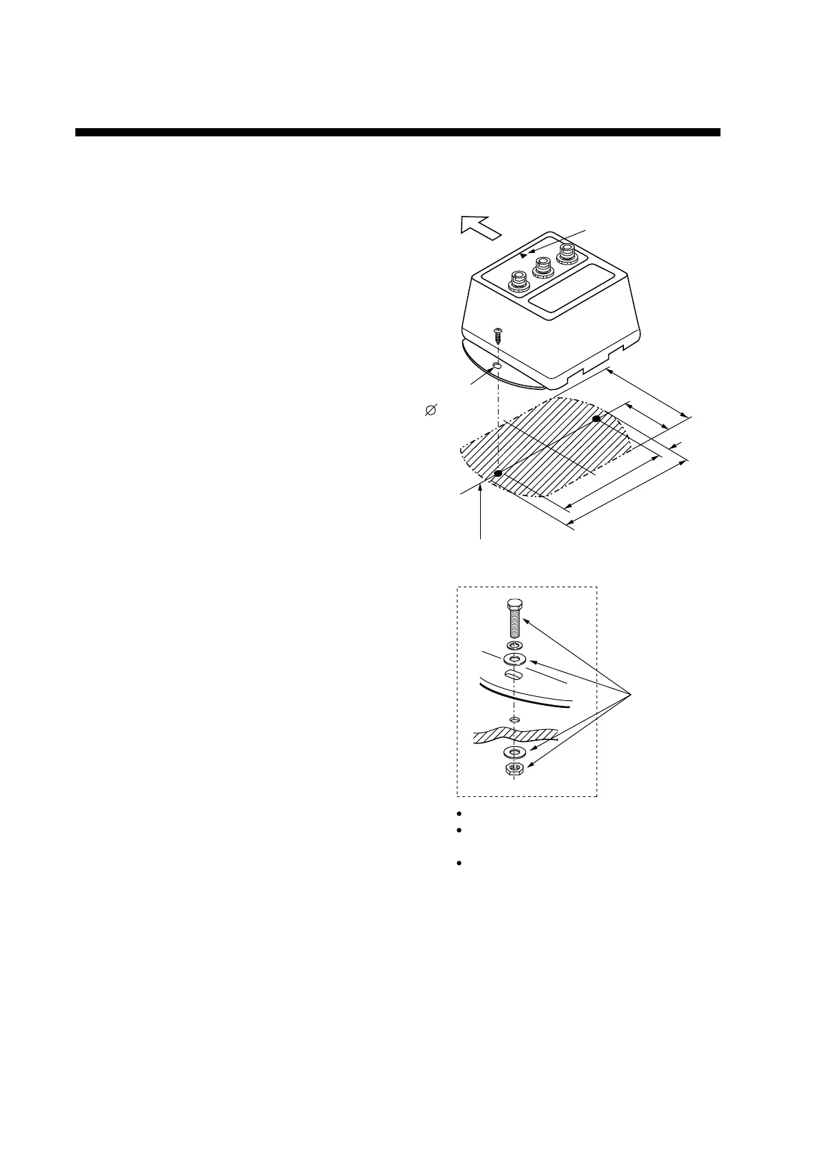
3.1 Mounting
This sensor must be mounted indoors on the
horizontal plane.
When selecting a mounting location, keep in
mind the following points:
• Vibration at the mounting location should
be minimal.
• Install the sensor as far as possible from
power cables and ferrous materials.
• Install the sensor near the ship's center of
gravity.
• Align the bow mark with the ship's bow on
the fore-and-aft-line.
Fix the sensor by using tapping screws and
M4 flat washers (supplied).
Ship's bow
Material: Brass
Bow mark
Fixing hole
141
152
5.5
65
130
All dimensions in mm.
For added support, use M4 nuts, bolts
and washers instead of tapping screws.
Secure sufficient clearance around the
sensor for maintenance and checking.
This line should be at right
angles to the fore and aft line.
( 4.5 mm)
Mounting the sensor
Note: Do not overtighten the screws or bolts;
the sensor may crack.
Bekijk gratis de handleiding van Furuno PG-500, stel vragen en lees de antwoorden op veelvoorkomende problemen, of gebruik onze assistent om sneller informatie in de handleiding te vinden of uitleg te krijgen over specifieke functies.
Productinformatie
| Merk | Furuno |
| Model | PG-500 |
| Categorie | Niet gecategoriseerd |
| Taal | Nederlands |
| Grootte | 4174 MB |







