Handleiding
Je bekijkt pagina 24 van 31

23
fitted cabinets or furniture when it is working, the metal grid at the back may become hot
and the sides warm.
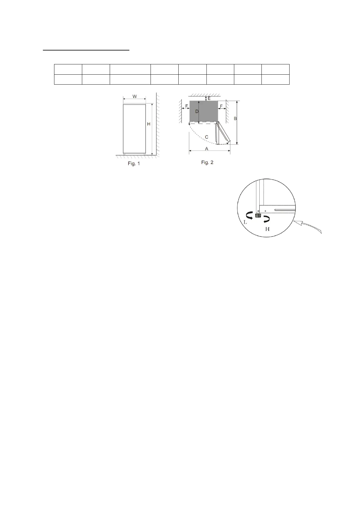
W
D
H
A
B
C(°)
E
F
549
557
845
910
1053
125±5
50
100
Leveling the appliance
If your appliance is not leveled, the door and magnetic seal
alignment will be affected and may cause a malfunction. Once
the appliance is placed in its final location, adjust the leveling
feet at the front by turning them.
• Turn the adjustable feet clockwise to raise the freezer
• Turn the adjustable feet counterclockwise to lower the
freezer
Cleaning before use
Wipe the inside of the appliance with a weak solution of bicarbonate of soda. Then rinse with
warm water using a damp sponge or cloth. Wash the baskets and shelves in warm soapy water
and dry completely before replacing them.
Before plugging in
Check that you have a socket which is compatible with the plug supplied with the appliance.
DO NOT SWITCH ON UNTIL FOUR HOURS AFTER MOVING THE APPLIANCE.
The coolant fluid needs time to settle. If the appliance is switched off at any time, wait 30
minutes before switching back on to allow the coolant fluid to settle.
Before filling your appliance
Before storing food in your appliance, turn it on and wait for 24 hours, to make sure it is working
properly and to allow it to reach the correct temperature.
Door right-left change
Depending on your needs, you can change the opening side of the door. You can choose to
open it from the right or from the left. To change the opening side, follow the instructions.
Warning:
▪ Before changing the opening side of the door, unplug the device from the mains.
▪ Any removed part must be kept until the end of installation.
▪ Do not lay the device down on the floor, you could damage the cooling system.
▪ Get help from one or two more people.
Bekijk gratis de handleiding van FrigeluX CTT92NE, stel vragen en lees de antwoorden op veelvoorkomende problemen, of gebruik onze assistent om sneller informatie in de handleiding te vinden of uitleg te krijgen over specifieke functies.
Productinformatie
| Merk | FrigeluX |
| Model | CTT92NE |
| Categorie | Vriezer |
| Taal | Nederlands |
| Grootte | 4317 MB |







