Franke ALLIANCE 604-10 handleiding
Handleiding
Je bekijkt pagina 34 van 40

TILPASNING AV LUFTSTRØMMEN
ENDRING AV LUFTMENGDE VIA
OMPROGRAMMERING
Luftmengden på den høyeste hastigheten
kan reduseres via omprogrammering med
strømbryteren. (Kontakt kundeservice.)
SPJELDINNSTILLING
Luftstrømmen tilpasses ved hjelp av spjel-
det. Løsne filteret og motorenheten for å få
tilgang til spjeldet.
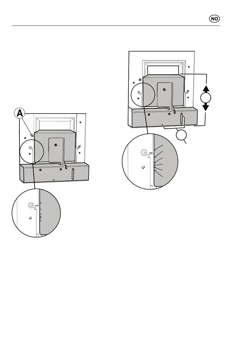
Fig. 6
Måleuttak
Trykket Pm måles i måleuttaket, Fig. 6A.
Ved hjelp av målt trykk Pm og spjeldets po-
sisjon kan luftmengden avleses i tilpas-
ningsdiagram, der G1–G6 er
grunnventilasjon.
Hvis det er nødvendig å endre luftmengden,
foretas en ny
spjeldinnstilling med utgangspunkt i diag-
rammet som forklart nedenfor.
Tilpasning av grunnventilasjon
E
F
6
5
4
3
2
1
Fig. 7
Juster grunnventilasjonen med spjeldet
stengt. Løsne skruene, Fig. 7E.
Plasser spjeldluken, Fig. 7F, i ønsket
stilling.
Merk:
Håndter spjeldet forsiktig.
Markeringene for spjeldluken stilling G1–
G6 tilsvarer verdiene i diagrammet Grunn-
ventilasjon, se Fig.14, side 38.
Fest spjeldet med skruene, Fig. 7E.
Mål trykket Pm og kontroller at ønsket
grunnventilasjon er oppnådd.
34
991.0357.839/D000000006696/180165/2021-09-24
Bekijk gratis de handleiding van Franke ALLIANCE 604-10, stel vragen en lees de antwoorden op veelvoorkomende problemen, of gebruik onze assistent om sneller informatie in de handleiding te vinden of uitleg te krijgen over specifieke functies.
Productinformatie
Merk | Franke |
Model | ALLIANCE 604-10 |
Categorie | Niet gecategoriseerd |
Taal | Nederlands |
Grootte | 4102 MB |