Franke ALLIANCE 604-10 handleiding
Handleiding
Je bekijkt pagina 13 van 40

ADJUSTING AIR FLOW
CHANGE OF AIR VOLUME VIA
REPROGRAMMING
The air volume at the highest speed can be
reduced by reprogramming via the power
switch. (contact Customer service.)
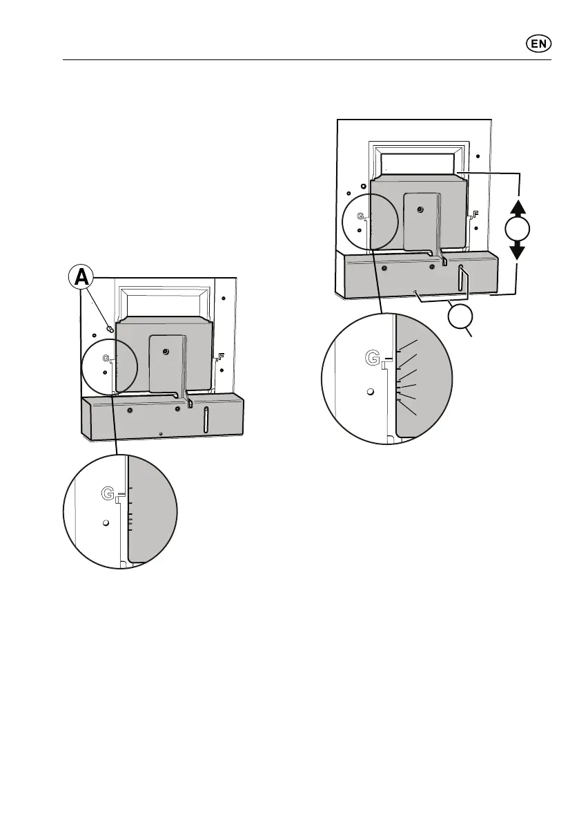
SETTING THE DAMPER
The air flow is adjusted with the aid of the
damper. The damper can be accessed for
adjustment by removing the filter and the
motor unit.
Fig. 6
Measurement outlet
The measurement pressure Pm is measured
in the measurement outlet, Fig. 6A. With
the aid of the measurement pressure Pm
and the position of the damper, the volume
of air can be read off in the adjustment
diagram, where G1-G6 are basic ventilation.
If the volume of air has to be altered, read
off a new damper setting from the diagram
and then adjust the position of the damper
according to the following description.
Adjusting basic ventilation
E
F
6
5
4
3
2
1
Fig. 7
Adjust the basic ventilation with the dam-
per hatch closed. Undo the screws, Fig. 7E.
Move the damper hatch, Fig. 7F, to the des-
ired position.
Attention!
Handle the damper with care.
The markings for the position of the damper
hatch, G1–G6, correspond with the values
in the diagram Basic ventilation, see Fig.14,
page 38.
Lock the damper hatch in place with the
screws, Fig. 7E.
Measure the pressure Pm and check that
the desired basic flow is achieved.
991.0357.839/D000000006696/180165/2021-09-24 13
Bekijk gratis de handleiding van Franke ALLIANCE 604-10, stel vragen en lees de antwoorden op veelvoorkomende problemen, of gebruik onze assistent om sneller informatie in de handleiding te vinden of uitleg te krijgen over specifieke functies.
Productinformatie
| Merk | Franke |
| Model | ALLIANCE 604-10 |
| Categorie | Niet gecategoriseerd |
| Taal | Nederlands |
| Grootte | 4102 MB |







