Eurolite LED Pixel Matrix Bar 10 RGB/WW handleiding
Handleiding
Je bekijkt pagina 33 van 44
00159459, Version 1.0
33/44
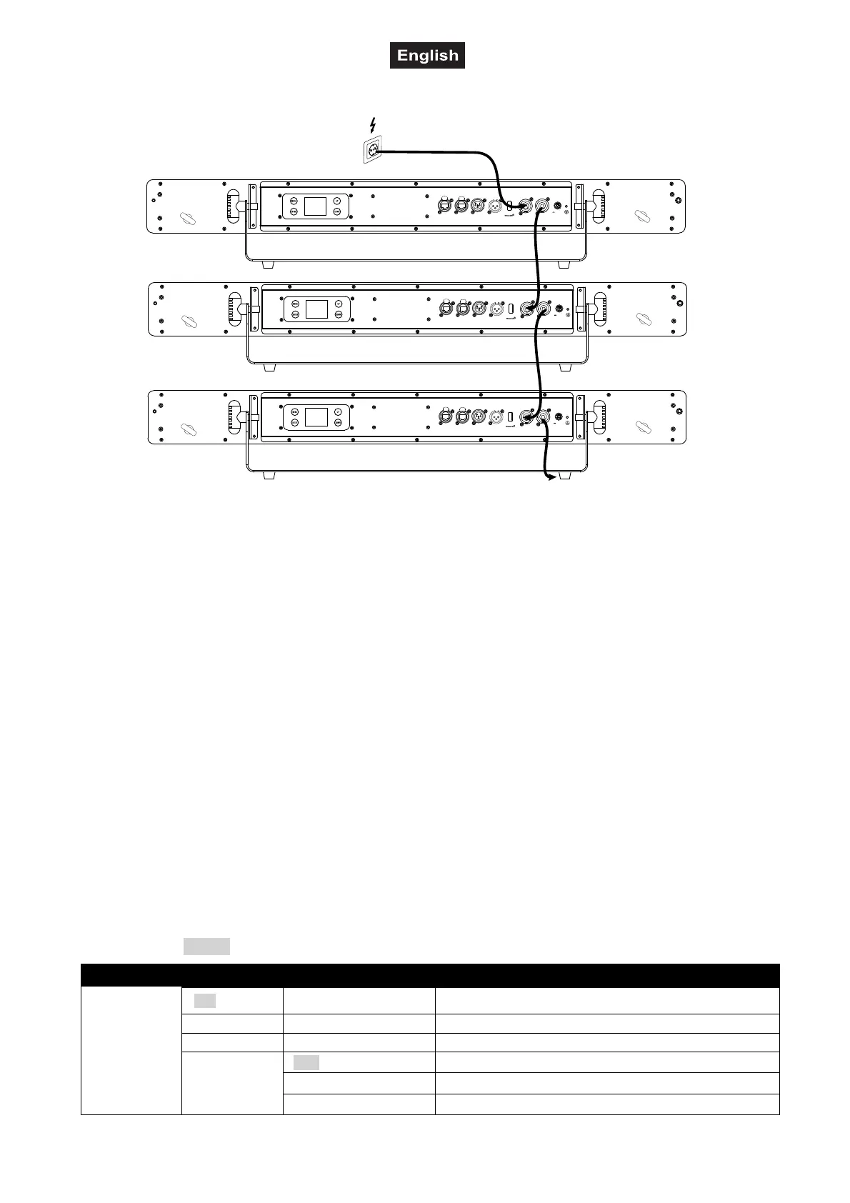
POWER SUPPLY
The device uses an auto-range power supply that accepts input voltages between 100 und 240 volts.
1 Connect the device via the mains cable to a grounded mains socket.
2 To switch off the unit, disconnect the power plug.
3 Do not connect the unit to the mains voltage via a dimmer.
4 The jack POWER OUT allows for power supply of further devices. To interconnect several devices,
connect the jack POWER OUT to the input POWER IN of the next unit until all units are connected.
Matching power cables with P-Con plugs are available as accessories. In this manner, up to 8 devices
can be linked at 230/240 input voltage and up to 4 devices at 110/115 input voltage.
OPERATION
After you connected the effect to the mains, the device requires a short initialization process and is then
ready for operation. All settings remain stored even if the device is disconnected from the mains.
The built-in control panel of the unit features four operating buttons and a display which shows all operation
statuses. The device can be operated in stand-alone mode via the control board or in DMX-controlled mode
via any commercial DMX controller. With a suitable radio receiver, the DMX control signal can also be
transmitted wirelessly to the unit. The operating modes can be selected by means of the display and the
operating buttons.
Menu structure
Default settings shaded
Submenu 1
SSubmenu 2
Submenu 3 Description
DMX Setup
ADDR
(Address)
001 – 512
Setting the DMX starting address
Prev
Quick DMX addressing to previous
Next
Quick DMX addressing to next
Chan*
4CH 4-channel mode
10CH 10- channel mode
15CH 15- channel mode
T2A/250V
NETWORKNETWORK
DMX OUTDMX IN
POWER IN
POWER OUT
100-240V~ 5 0/60Hz
T2A
/
250V
NETWORKNETWORK
DMX OUTDMX IN
POWER IN
POWER OUT
100-240V~ 5 0/60Hz
T2A/250V
NETWORKNETWORK
DMX OUTDMX IN
POWER IN
POWER OUT
100-240V~ 5 0/60Hz
Bekijk gratis de handleiding van Eurolite LED Pixel Matrix Bar 10 RGB/WW, stel vragen en lees de antwoorden op veelvoorkomende problemen, of gebruik onze assistent om sneller informatie in de handleiding te vinden of uitleg te krijgen over specifieke functies.
Productinformatie
| Merk | Eurolite |
| Model | LED Pixel Matrix Bar 10 RGB/WW |
| Categorie | Verlichting |
| Taal | Nederlands |
| Grootte | 4916 MB |






