Eizo LA-011-W handleiding

17 pagina's
PDF beschikbaar

Handleiding

Je bekijkt pagina 11 van 17
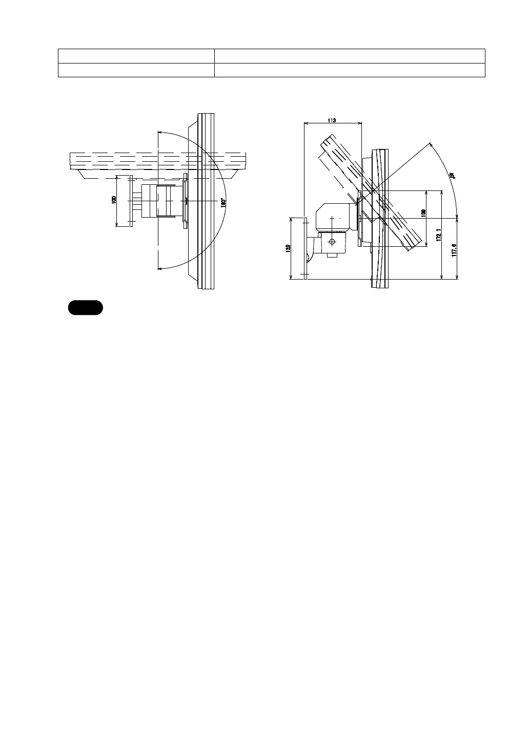
Specifications
____________________________________
Dimension (W) x (H) x (D)
109 x 172.1 x 113 mm
Weight
1.3 kg
Dimensions
Unit: mm
NOTE
The value within the dimensions drawing is only for reference, and range of motion differs
according to the installed condition.

Bekijk gratis de handleiding van Eizo LA-011-W, stel vragen en lees de antwoorden op veelvoorkomende problemen, of gebruik onze assistent om sneller informatie in de handleiding te vinden of uitleg te krijgen over specifieke functies.

Productinformatie

MerkEizo
ModelLA-011-W
CategorieNiet gecategoriseerd
TaalNederlands
Grootte2243 MB