DS18 MRX300D handleiding
Handleiding
Je bekijkt pagina 6 van 19

5
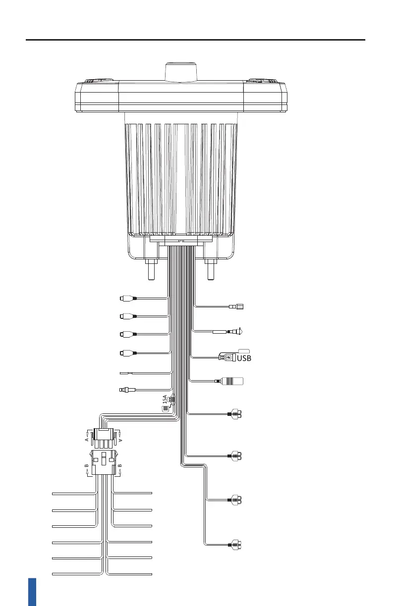
WIRING CONNECTION / CONEXION DE CABLEADO
RADIO ANTENNA
ANTENA DE RADIO
RED (FRONT ZONE 1 LINE OUT RIGHT)
WHITE (FRONT ZONE 1 LINE OUT LEFT)
BLANCO ZONA DELANTERA 1
RED (AUX IN RIGHT)
WHITE (AUX IN LEFT)
BLANCO ENTRADA AUX IZQUIERDA)
RED
ROJO
GREY
GRIS
WHITE
BLANCO
YELLOW
AMARILLO
GREY/BLACK
GRIS/NEGRO
WHITE/BLACK
BLANCO/NEGRO
BLACK
NEGRO
BLACK
NEGRO
BLACK
NEGRO
BLACK
NEGRO
RED
ROJO
RED
ROJO
GREEN
VERDE
BLACK
NEGRO
BLACK
NEGRO
BLACK
NEGRO
GREY
GRIS
BLACK
NEGRO
BLACK
NEGRO
BLACK
NEGRO
BROWN
MARRÓN
PURPLE/BLACK
PÚRPURA/NEGRO
PURPLE
PÚRPURA
BLUE
AZUL
GREEN/BLACK
VERDE/NEGRO
GREEN
VERDE
FRONT ZONE 1 SUB
ZONA DELANTERA 1 SUB
CENTRAL ZONE 2 SUB
ZONA CENTRAL 2 SUB
REAR ZONE 3 SUB
ZONA TRASERA 3 SUB
CAMERA IN
ENTRADA DE CÁMARA
CAMERA TRIGGER
DISPARADOR DE CÁMARA
DAB AMT(SMB)
WHITE (CENTRAL ZONE 2 LINE OUT LEFT)
RED (CENTRAL ZONE 2 LINE OUT RIGHT)
WHITE (REAR ZONE 3 LINE OUT LEFT)
RED (REAR ZONE 3 LINE OUT RIGHT)
WIRED REMOTE CONTROL (MXRC)
CONTROL REMOTO ALAMBRICO (MXRC)
REMOTE +12V OUT (Connect to MXRC)
SALIDA REMOTO + 12V (Conecte a el MXRC)
REMOTE IN
Bekijk gratis de handleiding van DS18 MRX300D, stel vragen en lees de antwoorden op veelvoorkomende problemen, of gebruik onze assistent om sneller informatie in de handleiding te vinden of uitleg te krijgen over specifieke functies.
Productinformatie
| Merk | DS18 |
| Model | MRX300D |
| Categorie | Niet gecategoriseerd |
| Taal | Nederlands |
| Grootte | 3606 MB |







