Draytek VigorSwitch P2542x handleiding
Handleiding
Je bekijkt pagina 21 van 359

13
I-2-6 IP Address Assignment
For IP address configuration, there are three parameters needed to be filled in. They are IP address,
Subnet Mask, Default Gateway and DNS.
IP address:
The address of the network device in the network is used for internetworking communication. Its
address structure looks is shown below. It is “classful” because it is split into predefined address
classes or categories.
Each class has its own network range between the network identifier and host identifier in the 32
bits address. Each IP address comprises two parts: network identifier (address) and host identifier
(address). The former indicates the network where the addressed host resides, and the latter
indicates the individual host in the network which the address of host refers to. And the host
identifier must be unique in the same LAN. Here the term of IP address we used is version 4, known
as IPv4.
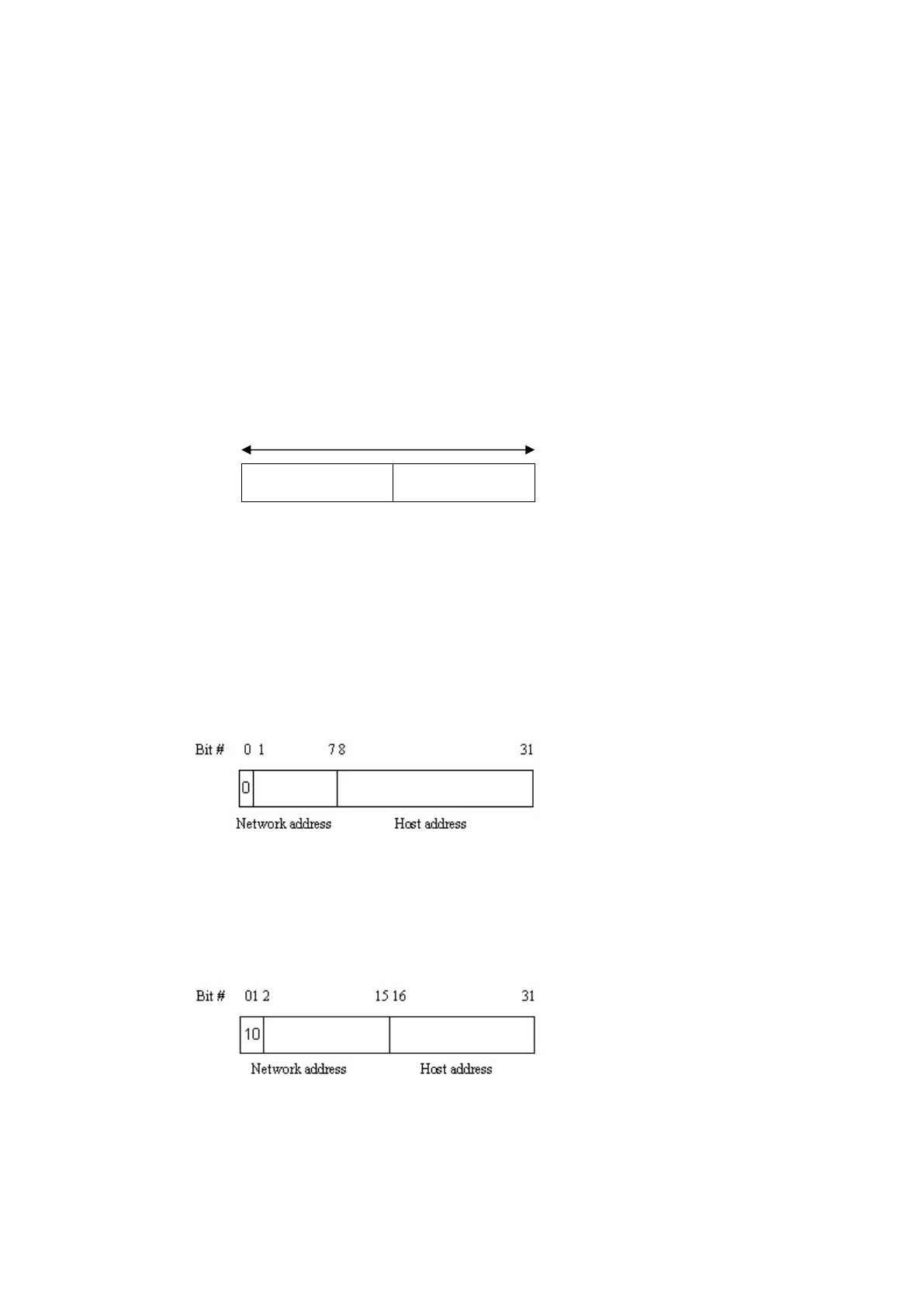
Network identifier Host identifier
32 bits
With the classful addressing, it divides IP address into three classes, class A, class B and class C. The
rest of IP addresses are for multicast and broadcast. The bit length of the network prefix is the same
as that of the subnet mask and is denoted as IP address/X, for example, 192.168.1.0/24. Each class
has its address range described below.
Class A:
Address is less than 126.255.255.255. There are a total of 126 networks can be defined because the
address 0.0.0.0 is reserved for default route and 127.0.0.0/8 is reserved for loopback function.
Class B:
IP address range between 128.0.0.0 and 191.255.255.255. Each class B network has a 16-bit network
prefix followed 16-bit host address. There are 16,384 (2^14)/16 networks able to be defined with a
maximum of 65534 (2^16 –2) hosts per network.
Class C:
IP address range between 192.0.0.0 and 223.255.255.255. Each class C network has a 24-bit network
prefix followed 8-bit host address. There are 2,097,152 (2^21)/24 networks able to be defined with a
maximum of 254 (2^8 –2) hosts per network.
Bekijk gratis de handleiding van Draytek VigorSwitch P2542x, stel vragen en lees de antwoorden op veelvoorkomende problemen, of gebruik onze assistent om sneller informatie in de handleiding te vinden of uitleg te krijgen over specifieke functies.
Productinformatie
Merk | Draytek |
Model | VigorSwitch P2542x |
Categorie | Niet gecategoriseerd |
Taal | Nederlands |
Grootte | 65198 MB |