Drawmer 1971 handleiding

15 pagina's
PDF beschikbaar

Handleiding

Je bekijkt pagina 14 van 15
14
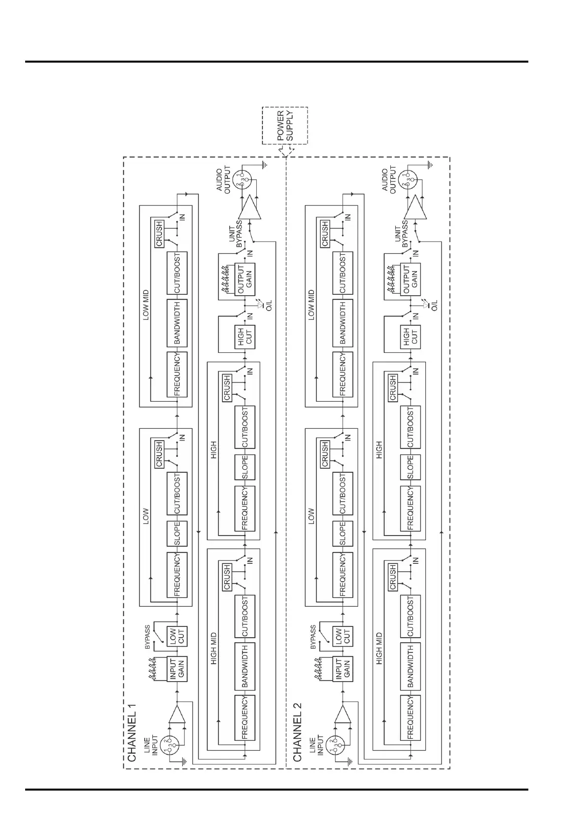
DRAWMER 1971 OPERATOR’S MANUAL
BLOCK DIAGRAM
1971 ver 01 C 20/05/24

Bekijk gratis de handleiding van Drawmer 1971, stel vragen en lees de antwoorden op veelvoorkomende problemen, of gebruik onze assistent om sneller informatie in de handleiding te vinden of uitleg te krijgen over specifieke functies.

Productinformatie

MerkDrawmer
Model1971
CategorieNiet gecategoriseerd
TaalNederlands
Grootte5010 MB