CyberPower PDU13104 handleiding
Handleiding
Je bekijkt pagina 8 van 42

6
Product Features:
Switched Metered by Outlet/Switched
(30/32/50/60A Models)
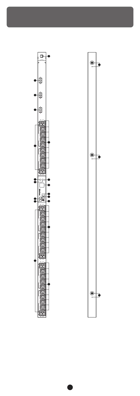
Front/Rear Panel Description
IEC Type Rear Panel
N
N
N
L21-30P
- Critical
- Warning
- Normal
Enter
Select
Tx/Rx
In / ENV
USB
Serial
Out
Link
BANK 3 (20A)BANK 2 (20A)BANK 1 (20A)
1
23456789
10 11
12 13 14 15 16 17 18 19
20 21
22 23 24 25 26 27 28 29
30
BANK 1 L1-L2 BANK 2 L2-L3 BANK 3 L3-L1 BANK 1 L1-L2 BANK 2 L2-L3 BANK 3 L3-L1
A
B
B
B
C
C
C
D
D
E
F
G
H
I
J
L
M
K
Bekijk gratis de handleiding van CyberPower PDU13104, stel vragen en lees de antwoorden op veelvoorkomende problemen, of gebruik onze assistent om sneller informatie in de handleiding te vinden of uitleg te krijgen over specifieke functies.
Productinformatie
| Merk | CyberPower |
| Model | PDU13104 |
| Categorie | Niet gecategoriseerd |
| Taal | Nederlands |
| Grootte | 5499 MB |