Handleiding
Je bekijkt pagina 5 van 40

* Debido a las innovaciones tecnológicas, las descripciones del aparato en este manual pueden no coincidir exactamente
con su frigorífico. Los detalles coinciden con el artículo.
III. Preparativos para el uso
Lugar de instalación
1. Condiciones de ventilación
El lugar que seleccione para la instalación del frigorífico debe estar bien ventilado y tener menos aire caliente. No instale
el frigorífico cerca de una fuente de calor como una cocina o caldera y evite la luz solar directa, garantizando de este
modo el efecto de refrigeración al tiempo que se ahorra energía. No instale el frigorífico en un lugar húmedo, para evitar
que se oxide y haya fuga de electricidad. El resultado de dividir la cantidad de carga de refrigerante del frigorífico
por el espacio total de la habitación en la que el frigorífico está instalado debe ser inferior a 8g / m³.
Nota: La cantidad de refrigerante cargado para el frigorífico se indica en la placa de características.
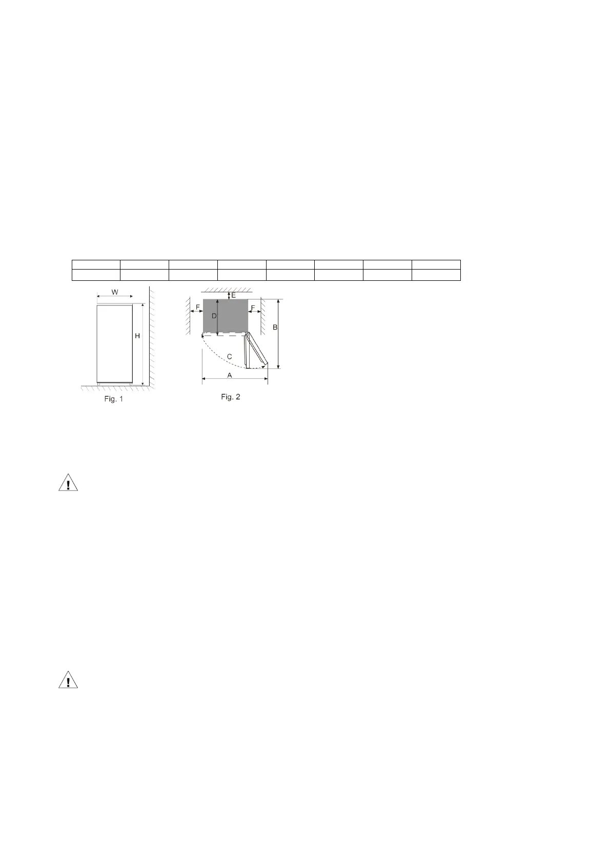
2. Espacio de disipación de calor
Cuando funciona, el frigorífico emite calor en el entorno. Por lo tanto, debe haber 30 mm de espacio libre en la parte
superior, como mínimo, más de 100 mm en ambos lados y más de 50 mm en la parte trasera del aparato.
Dimensiones en mm:
W D H A B C (°) E F
595 635 2000
966 1202 130 50 100
Nota:Las figuras 1 y 2 solo ilustran el espacio necesario para el aparato
3. Suelo nivelado
Coloque el frigorífico sobre una base (suelo) sólida y nivelada para mantenerlo estable, ya que si no producirá ruido y
vibraciones. Cuando el frigorífico se instala sobre materiales como moquetas, esterillas de paja o cloruro de polivinilo,
deben colocarse placas de apoyo resistentes debajo del frigorífico, para evitar decoloración debido a la disipación de calor.
Debe mantenerse una ventilación sin obstrucciones en torno al aparato o en una estructura empotrada.
Preparativos para el uso
1. Tiempo de reposo
Después de instalar correctamente el frigorífico y de haberlo limpiado bien, no lo conecte inmediatamente. Para
garantizar un funcionamiento normal, antes de conectar el frigorífico deje transcurrir más de 1 hora.
2. Limpieza
Limpie los accesorios interiores del frigorífico y el interior del aparato con un paño suave.
3. Conexión
Conecte el enchufe en una toma de corriente sólida para poner en marcha el compresor. Después de 1 hora, abra la
puerta del frigorífico, si la temperatura del interior desciende de forma apreciable, esto indica que el sistema de
refrigeración funciona normalmente.
4. Almacenamiento de alimentos
Después de que el frigorífico funcione durante un tiempo, la temperatura interna del frigorífico estará controlada
automáticamente, según el ajuste de temperatura del usuario. Después de que el frigorífico se haya enfriado
completamente, coloque alimentos en su interior, que tardarán en enfriarse completamente 2~3 horas. En verano,
cuando la temperatura es alta, se tardan más de 4 horas en que los alimentos se enfríen completamente (intente abrir la
puerta del frigorífico lo menos posible antes de que se enfríe la temperatura interna).
Si el frigorífico está instalado en un lugar húmedo, debe asegurarse de comprobar si el cable de puesta a tierra y el
disyuntor automático de fuga son normales. Si se produce ruido de vibración porque el frigorífico toca la pared o la pared
está ennegrecida por la convección de aire en torno al compresor, separe más el aparato de la pared. El emplazamiento
del frigorífico puede causar ruido o interferencias en el teléfono móvil, el teléfono fijo, el receptor de radio o el televisor si
están próximos, por lo que, si esto ocurre, debe alejar el aparato afectado lo máximo posible.
IV. Funciones
El panel indicador está integrado en la puerta del frigorífico, como se muetra en la figura de la derecha.
Bekijk gratis de handleiding van Corberó CCGLML201725NFN, stel vragen en lees de antwoorden op veelvoorkomende problemen, of gebruik onze assistent om sneller informatie in de handleiding te vinden of uitleg te krijgen over specifieke functies.
Productinformatie
Merk | Corberó |
Model | CCGLML201725NFN |
Categorie | Koelkast |
Taal | Nederlands |
Grootte | 5667 MB |