Handleiding
Je bekijkt pagina 8 van 36

KOOK60 - KOOK80 - KOOK90 - SMART60 - SMART80 - FRIDA 80
8
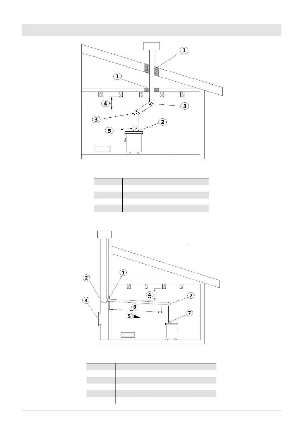
5 EXAMPLES OF CORRECT INSTALLATION
Fig. 8 - Example 1
LEGEND Fig. 8
1 Insulating material
2 Exhaust stub pipe
3 Inspection plug
4 Minimum safety distance = 0,5 mt
5 Damper
• Chimney flue installation Ø150 mm with an enlarged drilling for pipe transit.
Fig. 9 - Example 2
LEGEND Fig. 9
1 Insulating material
2 Inspection plug
3 Chimney inspection entrance
4 Minimum safety distance = 0,5 mt
5 Inclination ≥ 3°
6 Level section ≤ 1 mt
Bekijk gratis de handleiding van Cadel Kook 80, stel vragen en lees de antwoorden op veelvoorkomende problemen, of gebruik onze assistent om sneller informatie in de handleiding te vinden of uitleg te krijgen over specifieke functies.
Productinformatie
Merk | Cadel |
Model | Kook 80 |
Categorie | Fornuis |
Taal | Nederlands |
Grootte | 10998 MB |
Caratteristiche Prodotto
Apparaatplaatsing | Vrijstaand |
Kleur van het product | Anthracite, Stainless steel |
Ingebouwd display | Nee |
Gewicht | 126000 g |
Breedte | 800 mm |