Handleiding
Je bekijkt pagina 13 van 37

P a g e | 12
web:brohn.com.au
5 OPERATION
5.1 OVEN FUNCTIONS AND OPERATION
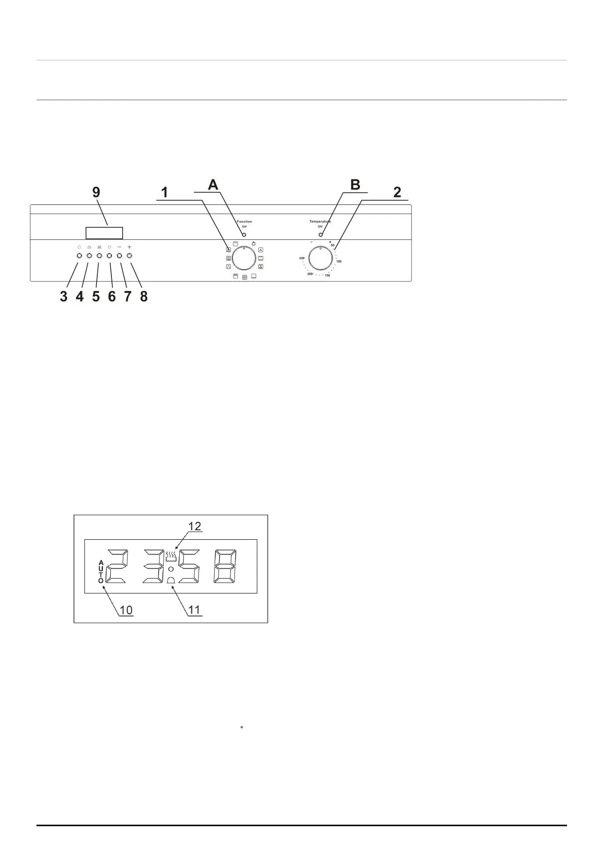
Control panel
1.Oven function selector knob
2.Thermostat temperature control knob
3.Minute minder button
4.Duration button
5.End cooking time button
6.Manual operation button
7.Minus button
8.Plus button
9.LED display
A.Power indicator light
B.Oven operating light
10.LED displayAuto funciton symbol
11.Minute minder symbol
12.Manual operation symbol
Bekijk gratis de handleiding van Bröhn BRO6010FP, stel vragen en lees de antwoorden op veelvoorkomende problemen, of gebruik onze assistent om sneller informatie in de handleiding te vinden of uitleg te krijgen over specifieke functies.
Productinformatie
| Merk | Bröhn |
| Model | BRO6010FP |
| Categorie | Oven |
| Taal | Nederlands |
| Grootte | 4837 MB |